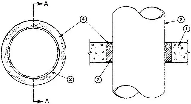
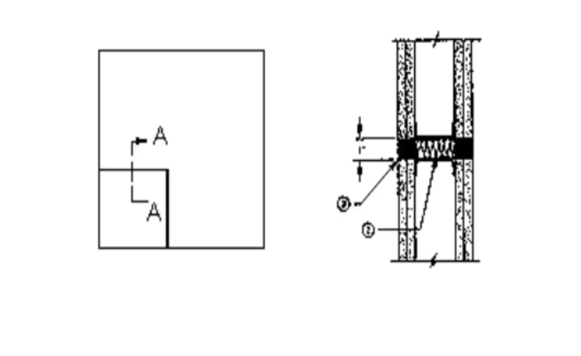
Şaft Geçişi Yangın Durdurucu Detayları

Geçilen Eleman
Seçiniz...
Geçilen Eleman
Geçilen Yapı Elemanı
Seçiniz...
Geçilen Yapı Elemanı
Geçen Tesisat Tipi
Seçiniz...
Geçen Tesisat Tipi
Firestop Kalınlık
Yangın Dayanımı
Seçiniz...
Yangın Dayanımı
SayfasıDetay PDFResimYangın DayanımAçıklamasıÜrünler
C-AJ-0042 Boş Şaft Rezervasyonunda Yangın Durdurucu Uygulama Detayı
C-AJ-0042 Boş Şaft Rezervasyonunda Yangın Durdurucu Uygulama Detayı
F240 Dakika813 x 813 mm Boş RezervasyonFMR Harç
C-AJ-0045 Boş Rezervasyonda Yangın Durdurucu Macun Uygulama Detayı
C-AJ-0045 Boş Rezervasyonda Yangın Durdurucu Macun Uygulama Detayı
F180 Dakika100 mm çaplı boş delikMC Macun
C-AJ-0052 Yangın Durdurucu Yastık Uygulama Detayı
C-AJ-0052 Yangın Durdurucu Yastık Uygulama Detayı
F180 Dakika610 x 610 mm Boş RezervasyonMC Pillow
Boş Rezervasyonlarda Yangın Durdurucu Silikon Uygulama Detayı C-AJ-0057
Boş Rezervasyonlarda Yangın Durdurucu Silikon Uygulama Detayı C-AJ-0057
F180 DakikaBeton Duvar/Döşeme/F180MC 835+
Yangına Dayanıklı Harç Detayı C-AJ-0068
Yangına Dayanıklı Harç Detayı C-AJ-0068
F180 DakikaBoş ŞaftMC yangın Durdurucu Harç
Kompozit Levha Yangın Yalıtımı Yangın Durdurucu Plaka Boş Rezervasyonda uygulama detayı C-AJ-088
Kompozit Levha Yangın Yalıtımı Yangın Durdurucu Plaka Boş Rezervasyonda uygulama detayı C-AJ-088
F240 DakikaBoş Rezervasyon / F240 dakikaMC Plaka , MC Derz Bandı, MC Macun
Yangın Durdurucu Mastik Uygulama Detayı C-AJ-0110
Boş Rezervasyonda, Yangın Durdurucu Mastik Uygulama Detayı C-AJ-0110
F120 Dakika150 mm Boş Rezervasyon F120MC150+
Duvar ve Döşemeden geçen metal boru ve konduit için, yangın durdurucu mastik uygulama detayı C-AJ-1022
Duvar ve Döşemeden geçen metal boru ve konduit için, yangın durdurucu mastik uygulama detayı C-AJ-1022
F180 DakikaDuvar / Döşeme Boru - Konduit - Kanal geçişiMC 150+
Boru Yangın Yalıtımı Detayı C-AJ-1036
Boru Yangın Yalıtımı Detayı C-AJ-1036
F120 Dakika5 adet Çelik BoruMC 950
Şaftlardan Geçen Boru için Yangın Durdurucu Silikon Test Raporu C-AJ-1037
Şaftlardan Geçen Boru için Yangın Durdurucu Silikon Test Raporu C-AJ-1037
F120 Dakika< 8" çap Çelik BoruMC 835+
Duvar Döşeme veya Prekast geçen Boru için Yangın Durdurucu Mastik Detayı C-AJ-1038
Duvar Döşeme veya Prekast geçen Boru için Yangın Durdurucu Mastik Detayı C-AJ-1038
F180 DakikaPrekast geçen boru 10 inç MC 950
Duvar ve Döşemeden Geçen Boru için Yangın Durdurucu Mastik Detayı C-AJ-1039
Duvar ve Döşemeden Geçen Boru için Yangın Durdurucu Mastik Detayı C-AJ-1039
F60 Dakika4" Alüminyum BoruMC 950
Bakır Boru geçişinde yangın yalıtımı detayı C-AJ-1051
Bakır Boru Geçişinde Yangın Durdurucu Mastik Detayı C-AJ-1051
F180 DakikaDikdörgen Delikten Çoklu Bakır Boru MC 950
Duvar veya Döşemeden Geçen Çelik Boru / EMT boru için Yangın Durdurucu Silikon Detayı C-AJ-1059
Duvar veya Döşemeden Geçen Çelik Boru / EMT boru için Yangın Durdurucu Silikon Detayı C-AJ-1059
F120 Dakika10" Çelik Boru / 6" EMT geçişi MC 835+
Duvar veya Döşemeden Geçen Boru için Yangın Durdurucu Detayı C-AJ-1076
Duvar veya Döşemeden Geçen Boru için Yangın Durdurucu Mastik Detayı C-AJ-1076
F120 Dakika12" Çelik / 2" Bakır Boru geçişiMC 950
Şaft Geçişi Metal Boru Geçişi Yangın Durdurucu Mastik Detayı
Şaft Geçişi Metal Boru Geçişi Yangın Durdurucu Mastik Detayı F120 Yangın Dayanımı
F120 Dakika12" ve 8" Çelik Boru GeçişiMC150+
Döşeme veya Duvardan geçen Boru Çevresine Yangın Durdurucu Mastik Uygulama Detayı C-AJ-1088
Döşeme veya Duvardan geçen Boru Çevresine Yangın Durdurucu Mastik Uygulama Detayı C-AJ-1088
F120 Dakika4" Çelik Kondüit veya Bakır Boru GeçişiMC 150+
Duvardan veya Döşemeden Geçen Çelik Boru için Yangın Durdurucu Mastik Detayı C-AJ-1104
Duvardan veya Döşemeden Geçen Çelik Boru için Yangın Durdurucu Mastik Detayı C-AJ-1104
F180 Dakika8" Çelik Boru GeçişiMC150
Döşeme ve Şaftlardan geçen Çelik Boru için Yangın Durdurucu Mastik Uygulama Detayı C-AJ-1105
Döşeme ve Şaftlardan geçen Çelik Boru için Yangın Durdurucu Mastik Uygulama Detayı C-AJ-1105
F180 Dakika6" Çelik Boru GeçişiMC 150+
Yangın Duvarı Geçen Çelik Boru için Yangın Durdurucu Mastik Detayı C-AJ-1114
Yangın Duvarı Geçen Çelik Boru için Yangın Durdurucu Mastik Detayı C-AJ-1114
F180 Dakika21" - 533 mm çaplı Çelik Boru GeçişiMC 950
Yangın Duvarı Geçen Boru için Yangın Durdurucu Silikon Detayıdır. C-AJ-1115
Yangın Duvarı Geçen Boru için Yangın Durdurucu Silikon Detayıdır. C-AJ-1115
F120 DakikaBakır Boru,Çelik, Çelik Kondüit, Döküm Boru GeçişiMC 835+
Boru Geçişi Yangın Durdurucu Harç Detayı C-AJ-1178
Boru Geçişi Yangın Durdurucu Harç Detayı C-AJ-1178
F180 DakikaBakır, Çelik ve Kondüit Boru GeçişiMonokote HPM
Yangın Duvarı Boru Geçişi için Yangın Durdurucu Silikon Uygulama Detayıdır. C-AJ-1186
Yangın Duvarı Boru Geçişi için Yangın Durdurucu Silikon Uygulama Detayıdır. C-AJ-1186
F120 Dakika12" - 320 mm çaplı Çelik veya Döküm Boru 6" Bakır Boru GeçişiMC 950
Yangın Duvarından Geçen Boru için Yangın Durdurucu Macun Detayı C-AJ-1200
Yangın Duvarından Geçen Boru için Yangın Durdurucu Macun Detayı C-AJ-1200
F180 Dakika4" çaplı Çelik veyaEMT Boru GeçişiMC Putty
Şaftlardan Geçen Borularda Yangın Durdurucu Macun Detayı C-AJ-1026
Şaftlardan Geçen Borularda Yangın Durdurucu Macun Detayı C-AJ-1026
F180 Dakika2" çaplı Çelik veya EMT Boru GeçişiMC Putty
Şaftlardan Geçen Boru için Yangın Durdurucu Mastik Detayı C-AJ-1221
Şaftlardan Geçen Boru için Yangın Durdurucu Mastik Detayı C-AJ-1221
F180 Dakika4" EMT veya Çelik Boru Geçişi MC 1000
Şaft Geçen Metal Borularda Yangın Durdurucu Mastik Uygulama Detayı C-AJ-1235
Şaft Geçen Metal Borularda Yangın Durdurucu Mastik Uygulama Detayı C-AJ-1235
F180 Dakika24" Döküm veya Çelik Boru 4" EMT, 6" Bakır Boru Geçişi MC 1000 / MC 350i / MC 150
Duvar Geçen Boru için Yangın Durdurucu Detayı C-AJ-1236
Duvar Geçen Boru için Yangın Durdurucu Detayı C-AJ-1236
F180 Dakika12" Döküm veya Çelik Boru 4" EMT, 6" Bakır Boru Geçişi MC 1200
Boru Geçişleri ve Borularda Yangın Yalıtımı Detayı C-AJ-1247
Boru Geçişleri ve Borularda Yangın Yalıtımı Detayı C-AJ-1247
F120 Dakika4" Bakır Boru / 3" EMT veya Çelik Boru GeçişiMC 835
Tesisatlarda Yangın Yalıtımı Detayı C-AJ-1248
Tesisatlarda Yangın Yalıtımı Detayı C-AJ-1248
F180 Dakika4" EMT Boru veya Çelik Boru / 3" Bakır GeçişiMC 835
Boru Yangın Yalıtımı Detayı C-AJ-1250
Boru Yangın Yalıtımı Detayı C-AJ-1250
F180 Dakika6" EMT Boru veya Çelik BoruMC 835
BORU YANGIN YALITIMI DETAYI C-AJ-1261
BORU YANGIN YALITIMI DETAYI C-AJ-1261
F180 Dakika20" Döküm Boru veya 6" Çelik Boru / Bakır BoruMC 1000
Pasif Yangın Durdurucu Mastik Detayı C-AJ-1263
Pasif Yangın Durdurucu Mastik Detayı C-AJ-1263
F180 Dakika20" Döküm veya Çelik Boru veya 6" Çelik Boru / Bakır BoruMC 1000
Duvar veya Döşemeden Geçen Boru için Yangın Durdurucu Mastik Detayıdır. C-AJ-1270
Duvar veya Döşemeden Geçen Boru için Yangın Durdurucu Mastik Detayıdır. C-AJ-1270
F180 Dakika10" Çelik Boru GeçişiMC 150+
Pasif Yangın Koruma Sistemleri Detayı C-AJ-1272
Pasif Yangın Koruma Sistemleri Detayı C-AJ-1272
F120 Dakika12" Çelik / Döküm ve 6" EMT / Bakır Boru GeçişiMC 150+
Yangın Bölmesi Boru Geçişi Detayı C-AJ-1296
Yangın Bölmesi Boru Geçişi Detayı C-AJ-1296
F180 Dakika4" çaplı Çelik Boru / Döküm Boru / EMT boruMC 1000
Yangın Duvarı Geçen Boru Detayı C-AJ-1320
Yangın Duvarı Geçen Boru Detayı C-AJ-1320
F180 Dakika1 1/2" Çelik veya Alüminyum Esnek Boru - KonduitMC 1000
Boru Geçişi Yangın Yalıtım Detayı C-AJ-1367
Boru Geçişi Yangın Yalıtım Detayı C-AJ-1367
F180 Dakika6" Çelik / Döküm veya EMT Boru - KonduitMC Yastık / MC 1000
C-AJ-1379 Döşeme Boru Geçişi Yangın Durdurucu Detayı
C-AJ-1379 Döşeme Boru Geçişi Yangın Durdurucu Detayı
F180 Dakika24" Çelik / 6" EMT Boru - KonduitMC 150
Yangın Durdurucu Mastik Detayı C-AJ-1042
Yangın Durdurucu Mastik Detayı C-AJ-1042
F120 Dakika8" Çelik/EMT/Bakır Boru 2 Saat DayanımMC1000 / MC350i
C-AJ-1403 Boru Geçişi Pasif Yangın Durdurucu Mastik Detayı
C-AJ-1403 Boru Geçişi Pasif Yangın Durdurucu Mastik Detayı
F180 Dakika8" Çelik/EMT/Bakır Boru F120 veya F180MC1000 / MC150+ / MC350i
C-AJ-1404 Şaft Geçişinde Boru Yangın Durdurucu Detayı
C-AJ-1404 Şaft Geçişinde Boru Yangın Durdurucu Detayı
F120 Dakika24" Çelik Boru 6" EMT/Bakır Boru F120 DayanımMC1000 / MC150+ / MC350i
C-AJ-1406 Yangın Durdurucu Mastik ile Boru Geçişinde Yangın Bariyeri Yapılması
C-AJ-1406 Yangın Durdurucu Mastik ile Boru Geçişinde Yangın Bariyeri Yapılması
F120 DakikaÇoklu maks. 6" çelik ve bakır boru F120 dayanımMC 150+ / FS 900+
C-AJ-1409 Metal Boru Şaft Geçişi Yangın Durdurucu Detayı
C-AJ-1409 Metal Boru Şaft Geçişi Yangın Durdurucu Detayı
F120 Dakika8" çelik ve 4" bakır boru / 6" EMTMC 150+
C-AJ-1426 Çoklu Metal Boru Şaft Geçişi Yangın Durdurucu Detayı
C-AJ-1426 Çoklu Metal Boru Şaft Geçişi Yangın Durdurucu Detayı
F120 Dakika4" çelik ve 1-1/2" bakır boru / 4" EMT / 4" Ddöküm BoruMC1200
C-AJ-1480 Metal Boru Şaft Geçişi Yangın Yalıtımı Detayı
C-AJ-1480 Metal Boru Şaft Geçişi Yangın Yalıtımı Detayı
F120 Dakika4" çelik / 4" EMT / 4" Döküm BoruMC1200
C-AJ-1502 Metal Konduit Şaft Geçişi Yangın İzolasyonu Detayı
C-AJ-1502 Metal Konduit Şaft Geçişi Yangın İzolasyonu Detayı
F180 Dakika1-1/2" çaplı KonduitMC150+
C-AJ-1524 Şaft Geçişi Boru Yangın Durdurucu Detayı
C-AJ-1524 Şaft Geçişi Boru Yangın Durdurucu Detayı
F60 Dakika6" Çelik veya Döküm veya Bakır veya EMT Konduit BoruRC136
C-AJ-1528 Şaft Geçişi Boru Yangın Yalıtımı Detayı
C-AJ-1528 Şaft Geçişi Boru Yangın Yalıtımı Detayı
F180 Dakika12" Çelik 12" Döküm veya 4" Bakır BoruMC150+
C-AJ-1535 Döşeme Geçişi Boru Yangın Yalıtımı Detayı
C-AJ-1535 Döşeme Geçişi Boru Yangın Yalıtımı Detayı
F180 Dakika8" Çelik 8" Döküm 4" EMT veya 4" Bakır BoruMC1000 / MC350i
C-AJ-1541 Döşeme - Duvar Geçen Metal Boru Yangın Durdurucu Detayı
C-AJ-1541 Döşeme - Duvar Geçen Metal Boru Yangın Durdurucu Detayı
F180 DakikaDöşeme / Duvar geçen Çelik, Bakır, EMT, Döküm BoruMC350i
C-AJ-1542 Döşeme - Duvar Geçen Metal Boru Yangın Durdurucu Detayı
C-AJ-1542 Döşeme - Duvar Geçen Metal Boru Yangın Durdurucu Detayı
F180 DakikaDöşeme / Duvar geçen Çelik, Bakır, EMT, Döküm BoruMC350i
C-AJ-1543 Döşeme - Duvar Geçen Metal Boru Yangın Durdurucu Detayı
C-AJ-1543 Döşeme - Duvar Geçen Metal Boru Yangın Durdurucu Detayı
F180 DakikaDöşeme / Duvar geçen Çelik, EMT, Döküm BoruMC350i
C-AJ-1544 Döşeme - Duvar Geçen Metal Boru Yangın Durdurucu Detayı
C-AJ-1544 Döşeme - Duvar Geçen Metal Boru Yangın Durdurucu Detayı
F120 DakikaDöşeme / Duvar geçen Çelik, EMT, Bakır BoruMC350i
C-AJ-1577 Döşeme Geçişi Boru Yangın İzolasyonu Detayı
C-AJ-1577 Döşeme Geçişi Boru Yangın İzolasyonu Detayı
F180 Dakika4" Çelik 4" EMT veya 4" Bakır BoruMC1000 / MC150+ / MC350i
C-AJ-1587 Döşeme veya Duvar Boru Geçişi Yangın Durdurucu Detayı
C-AJ-1587 Döşeme veya Duvar Boru Geçişi Yangın Durdurucu Detayı
F120 Dakika10" Çelik, 6" EMT, 6" Döküm veya 4" Bakır BoruMC1000
C-AJ-1601 Döşeme veya Duvar Boru Geçişi Yangın Yalıtımı Detayı
C-AJ-1601 Döşeme veya Duvar Boru Geçişi Yangın Yalıtımı Detayı
F180 Dakika10" Çelik, 6" EMT, 10" Döküm veya 6" Bakır BoruMC1000
C-AJ-1751 Döşeme veya Duvar Konduit Geçişi Yangın Durdurucu Detayı
C-AJ-1751 Döşeme veya Duvar Konduit Geçişi Yangın Durdurucu Detayı
F60 Dakika2" EMT KonduitMC1000
C-AJ-2007 Döşeme - Duvar Geçen Yanıcı Boru Yangın Durdurucu Detayı
C-AJ-2007 Döşeme - Duvar Geçen Yanıcı Boru Yangın Durdurucu Detayı
F120 DakikaDöşeme / Duvar geçen yanıcı PVC / cPVC / ABSMC350i / MC Kelepçe
C-AJ-2015 PVC Boru Yangın Durdurucu Mastik Detayı
C-AJ-2015 PVC Boru Yangın Durdurucu Mastik Detayı
F120 Dakika50 mm PVC Boru Geçişi MC 950
C-AJ-2017 Şaft, Duvar veya Döşeme Geçen PVC Boru Yangın Yalıtımı Detayı
C-AJ-2017 Şaft, Duvar veya Döşeme Geçen PVC Boru Yangın Yalıtımı Detayı
F180 Dakika75 mm PVC Boru Geçişi MC1000 / MC Sargı / MC350i
Kat Döşemesinden Geçen PVC Boru Yangın Durdurucu Kelepçe Detayı C-AJ-2019
Kat Döşemesinden Geçen PVC Boru Yangın Durdurucu Kelepçe Detayı C-AJ-2019
F180 Dakika100 - 150 mm PVC Boru geçişiMC SARGI / MC1000
Döşeme ve Duvardan Geçen Yanıcı Boru Yangın Bariyeri C-AJ-2038
Döşeme ve Duvardan Geçen Yanıcı Boru Yangın Bariyeri C-AJ-2038
F120 DakikaPVC / cPVC / ABS / Konduit Geçişi 50 mmMC1000
Şaftlardan Geçen PVC Boru Yangın Durdurucu Uygulaması C-AJ-2043
Şaftlardan Geçen PVC Boru Yangın Durdurucu Uygulaması C-AJ-2043
F120 DakikaDöşeme veya Duvardan Geçen 50 mm PVC BoruMC1000 / MC350i
Döşemeden Geçen PVC Boru Yangın Durdurucu Detayı C-AJ-2045
Döşemeden Geçen PVC Boru Yangın Durdurucu Detayı C-AJ-2045
F120 DakikaDöşeme veya Duvardan Geçen 50 mm PVC Boru MC1000 / MC Sargı
C-AJ-2047 Şaft, Duvar veya Döşeme Geçen Yanıcı Boru Yangın Durdurucu Sargı Detayı
C-AJ-2047 Şaft, Duvar veya Döşeme Geçen Yanıcı Boru Yangın Durdurucu Sargı Detayı
F120 Dakika100 mm PVC Boru Geçişi MC Sargı / MC1000 / MC350i
C-AJ-2112 Şaft, Duvar veya Döşeme Geçen PVC Boru Yangın İzolasyonu Detayı
C-AJ-2112 Şaft, Duvar veya Döşeme Geçen PVC Boru Yangın İzolasyonu Detayı
F180 Dakika50 mm PVC Boru Geçişi MC 1000
C-AJ-2113 Şaft, Duvar veya Döşeme Geçen Yanıcı Boru Yangın Durdurucu Detayı
C-AJ-2113 Şaft, Duvar veya Döşeme Geçen Yanıcı Boru Yangın Durdurucu Detayı
F180 Dakika50 mm PVC ve CPVC Boru Geçişi MC 1000
C-AJ-2119 Şaft, Duvar veya Döşeme Geçen Yanıcı Boru Yangın Yalıtımı Detayı
C-AJ-2119 Şaft, Duvar veya Döşeme Geçen Yanıcı Boru Yangın Yalıtımı Detayı
F180 Dakika25 mm Polietilen, PVC ve CPVC Boru Geçişi MC 1000
C-AJ-2120 Şaft, Duvar veya Döşeme Geçen Yanıcı Boru Yangın İzolasyonu Detayı
C-AJ-2120 Şaft, Duvar veya Döşeme Geçen Yanıcı Boru Yangın İzolasyonu Detayı
F120 Dakika38 mm PVC ve CPVC Boru Geçişi MC 1000
C-AJ-2122 Şaft, Duvar veya Döşeme Geçen Yanıcı Boru Yangın İzolasyonu Detayı
C-AJ-2122 Şaft, Duvar veya Döşeme Geçen Yanıcı Boru Yangın İzolasyonu Detayı
F180 Dakika75 mm PVC ve CPVC veya ABS Boru Geçişi MC 1000
C-AJ-2134 Şaft, Duvar veya Döşeme Geçen Yanıcı Boru Yangın Durdurucu Kelepçe Detayı
C-AJ-2134 Şaft, Duvar veya Döşeme Geçen Yanıcı Boru Yangın Durdurucu Kelepçe Detayı
F180 Dakika100 mm PVC / cPVC/ ABS Boru Geçişi MC Kelepçe
C-AJ-2151 Şaft, Duvar veya Döşeme Geçen PVC Boru Yangın Kelepçesi Detayı
C-AJ-2151 Şaft, Duvar veya Döşeme Geçen PVC Boru Yangın Kelepçesi Detayı
F180 Dakika150 mm ABS, PVC, CPVC, FRPP BoruMC Kelepçe / MC1200
C-AJ-2152 Şaft, Duvar veya Döşeme Geçen PVC Boru Yangın Yalıtımı Detayı
C-AJ-2152 Şaft, Duvar veya Döşeme Geçen PVC Boru Yangın Yalıtımı Detayı
F180 Dakika150 mm ABS, PVC, PVC, FRPP BoruMC Kelepçe / MC1200
C-AJ-2153 Yangın Durdurucu Boru Kelepçesi
C-AJ-2153 Yangın Durdurucu Boru Kelepçesi
F180 Dakika50 ABS, PVC, ve 100 CPVC BoruMC Kelepçe / MC1200
C-AJ-2154 Yangın Yalıtımı Boru Kelepçesi
C-AJ-2154 Yangın Yalıtımı Boru Kelepçesi
F180 Dakika50 ABS, PVC, ve 100 CPVC BoruMC Kelepçe / MC1200
Yangın İzolasyonu Boru Kelepçesi C-AJ-2155
Yangın İzolasyonu Boru Kelepçesi C-AJ-2155
F120 Dakika4" FRPP BoruMC Kelepçe / MC1200 / MC1000
C-AJ-2156 Polipropilen Boru Yangın Durdurucu Detayı
C-AJ-2156 Polipropilen Boru Yangın Durdurucu Detayı
F120 Dakika4" FRPP BoruMC Kelepçe / MC1200
C-AJ-2157 Yanıcı Boru Yangın Durdurucu Bandaj Detayı
C-AJ-2157 Yanıcı Boru Yangın Durdurucu Bandaj Detayı
F120 Dakika50 mm PVC / ABS / cPVC Boru Geçişi MC Sargı
C-AJ-2176 Polietilen Boru Yangın Durdurucu Kelepçe Detayı
C-AJ-2176 Polietilen Boru Yangın Durdurucu Kelepçe Detayı
F120 DakikaPolietilen PEX Boru 50 mmMC Kelepçe
C-AJ-2178 Yanıcı (Akrilonitril Bütadien Stiren) ABS Boru Yangın Durdurucu Sargı Detayı
C-AJ-2178 Yanıcı (Akrilonitril Bütadien Stiren) ABS Boru Yangın Durdurucu Sargı Detayı
F120 DakikaABS Boru 100 mmMC Sargı / MC1000
C-AJ-2180 Yanıcı PVC Boru Yangın Yalıtımı Kelepçe Detayı
C-AJ-2180 Yanıcı PVC Boru Yangın Yalıtımı Kelepçe Detayı
F180 DakikaPVC Boru 75 mmMC Kelepçe / MC1200
C-AJ-2181 Yanıcı PVC Boru Yangın İzolasyonu Kelepçe Detayı
C-AJ-2181 Yanıcı PVC Boru Yangın İzolasyonu Kelepçe Detayı
F180 DakikaPVC Boru 75 mmMC Kelepçe / MC1200
C-AJ-2194 Yanıcı PEX Polietilen Boru Yangın Durdurucu Detayı
C-AJ-2194 Yanıcı PEX Polietilen Boru Yangın Durdurucu Detayı
F180 DakikaPolietilen Boru 25 mmMC1000 / MC150+ / MC350i
C-AJ-2245 Yanıcı Koruge Boru Elektrik Konduiti Yangın Durdurucu Detayı
C-AJ-2245 Yanıcı Koruge Boru Elektrik Konduiti Yangın Durdurucu Detayı
F120 DakikaKoruge Konduit / Fiber Kablo Kanalı 1 inçMC1000
C-AJ-2247 Yanıcı Elektrik Spiral Boru Yangın Durdurucu Detayı
C-AJ-2247 Yanıcı Elektrik Spiral Boru Yangın Durdurucu Detayı
F120 DakikaKoruge Konduit / Spiral Boru / Fiber Kablo Kanalı 1 inçMC1000
C-AJ-2265 PVC / CPVC Boru Yangın Durdurucu Detayı
C-AJ-2265 PVC / CPVC Boru Yangın Durdurucu Detayı
F180 DakikaPVC / CPVC Boru 200 mm MC1000 / MC Sargı
C-AJ-2269 Yanıcı Boru Yangın Durdurucu Detayı
C-AJ-2269 Yanıcı Boru Yangın Durdurucu Detayı
F180 DakikaPVC / CPVC / ABS / PPRC Boru 150 mmMC1200 / MC Kelepçe / MC Harç
C-AJ-2307 Yanıcı Boru Pasif Yangın Koruma Detayı
C-AJ-2307 Yanıcı Boru Pasif Yangın Koruma Detayı
F120 DakikaPVC / CPVC / ABS Boru 38 mmMC1000
C-AJ-2309 PVC Boru Pasif Yangın Koruma Detayı
C-AJ-2309 PVC Boru Pasif Yangın Koruma Detayı
F120 DakikaPVC / CPVC / ABS Boru 50 mmMC1000
C-AJ-2333 Yanıcı Boru Yangın Yalıtımı Detayı
C-AJ-2333 Yanıcı Boru Yangın Yalıtımı Detayı
F180 DakikaPVC Boru 250 veya 300 mmMC1000 / MC Sargı
PVC Boru Yangın İzolasyonu Detayı C-AJ-2344
PVC Boru Yangın İzolasyonu Detayı C-AJ-2344
F180 DakikaPVC / CPVC / ABS Boru 100 mmMC1200 / MC Sargı
C-AJ-2346 Şaft, Duvar veya Döşeme Geçen Yanıcı Boru Yangın Durdurucu Sargı Detayı
C-AJ-2346 Şaft, Duvar veya Döşeme Geçen Yanıcı Boru Yangın Durdurucu Sargı Detayı
F180 Dakika100 mm PVC / c;PVC / ABS Boru Geçişi MC Sargı / MC1000
C-AJ-2348 PVC / CPVC / ABS Yanıcı Boru Yangın Durdurucu Detayı
C-AJ-2348 PVC / CPVC / ABS Yanıcı Boru Yangın Durdurucu Detayı
F120 DakikaPVC / CPVC / ABS Boru 50 mmMC1000 / MC150+ / MC350i
C-AJ-2373 PVC / CPVC Boru Yangın Durdurucu Detayı
C-AJ-2373 PVC / CPVC Boru Yangın Durdurucu Detayı
F120 DakikaPVC / CPVC Boru 100 mmMC1000 / MC Sargı
C-AJ-2390 PVC / CPVC Boru Yangın Durdurucu Detayı
C-AJ-2390 PVC / CPVC Boru Yangın Durdurucu Detayı
F120 DakikaPVC / CPVC Boru 100 mmMC1000 veya MC1200 / MC Sargı
C-AJ-2425 PVC / CPVC / ABS Boru Yangın Durdurucu Detayı
C-AJ-2425 PVC / CPVC / ABS Boru Yangın Durdurucu Detayı
F120 DakikaPVC / CPVC / ABS Boru 75 mmMC1000 veya MC1200 / MC Sargı
C-AJ-2427 PVC / CPVC / ABS Boru Yangın Yalıtımı Detayı
C-AJ-2427 PVC / CPVC / ABS Boru Yangın Yalıtımı Detayı
F120 DakikaPVC / CPVC / ABS Boru 100 mmMC1000 veya MC1200 / MC Sargı
C-AJ-2429 PVC / CPVC Boru Yangın Durdurucu Yastık Detayı
C-AJ-2429 PVC / CPVC Boru Yangın Durdurucu Yastık Detayı
F120 DakikaPVC / CPVC 100 mmMC1000 / MC Yastık / MC Sargı
C-AJ-2432 PVC / CPVC / Konduit Boru Yangın Durdurucu Mastik Detayı
C-AJ-2432 PVC / CPVC / Konduit Boru Yangın Durdurucu Mastik Detayı
F180 DakikaPVC / CPVC / Konduit 50 mmMC1000 / MC350i
F180 DakikaPVC / CPVC / ABS 50 mmMC1000
Polipropilen Boru Yangın Durdurucu Detayı C-AJ-2484
Polipropilen Boru Yangın Durdurucu Detayı C-AJ-2484
F180 Dakika50 mm Polipropilen Boru geçişiMC1000
C-AJ-2086 Şaft, Duvar veya Döşeme Geçen Yanıcı Boru Yangın Durdurucu Mastik Detayı
C-AJ-2086 Şaft, Duvar veya Döşeme Geçen Yanıcı Boru Yangın Durdurucu Mastik Detayı
F120 Dakika50 mm PVC Boru Geçişi MC1000 / MC350i
C-AJ-2490 Şaft, Duvar veya Döşeme Geçen Yanıcı Boru Yangın Durdurucu Mastik Detayı
C-AJ-2490 Şaft, Duvar veya Döşeme Geçen Yanıcı Boru Yangın Durdurucu Mastik Detayı
F120 Dakika50 mm PVC / cPVC/ Koruge Boru Geçişi MC1000 / MC350i
C-AJ-2494 Şaft, Duvar veya Döşeme Geçen PVC Boru Yangın Durdurucu Detayı
C-AJ-2494 Şaft, Duvar veya Döşeme Geçen PVC Boru Yangın Durdurucu Detayı
F120 Dakika25 mm Polietilen PEX Boru Geçişi MC1000 / MC350i
Şaftlardan Geçen Polipropilen Boru Yangın Durdurucu C-AJ-2496
Şaftlardan Geçen Polipropilen Boru Yangın Durdurucu C-AJ-2496
F120 Dakika50 mm Polipropilen Boru Yangın DurdurucuMC1000
C-AJ-2498 PPRC Boru Yangın Durdurucu Detayı
C-AJ-2498 PPRC Boru Yangın Durdurucu Detayı
F120 Dakika4 inç FRPP Boru Geçişi MCSargı / MC1000 / MC350i
C-AJ-2550 Şaft, Duvar veya Döşeme Geçen PVC Boru Yangın Durdurucu Detayı
C-AJ-2550 Şaft, Duvar veya Döşeme Geçen PVC Boru Yangın Durdurucu Detayı
F180 Dakika50 mm PVC/cPVC/PB Boru Geçişi MC350i
C-AJ-2551 Şaft, Duvar veya Döşeme Geçen PVC Boru Yangın Durdurucu Detayı
C-AJ-2551 Şaft, Duvar veya Döşeme Geçen PVC Boru Yangın Durdurucu Detayı
F180 Dakika50 mm PVC / cPVC Boru Geçişi MC350i
C-AJ-2552 Şaft, Duvar veya Döşeme Geçen PVC Boru Yangın Durdurucu Detayı
C-AJ-2552 Şaft, Duvar veya Döşeme Geçen PVC Boru Yangın Durdurucu Detayı
F120 Dakika38 mm PVC / cPVC Boru Geçişi MC350i
C-AJ-2553 Şaft, Duvar veya Döşeme Geçen Yanıcı Konduit Koruge Boru Yangın Durdurucu Detayı
C-AJ-2553 Şaft, Duvar veya Döşeme Geçen Yanıcı Konduit Koruge Boru Yangın Durdurucu Detayı
F120 Dakika1 inç Koruge Boru Konduit Geçişi MC350i
C-AJ-2554 Şaft, Duvar veya Döşeme Geçen Yanıcı Boru Yangın Durdurucu Detayı
C-AJ-2554 Şaft, Duvar veya Döşeme Geçen Yanıcı Boru Yangın Durdurucu Detayı
F120 Dakika1-1/2" (38 mm) PVC, ABS, cPVC Boru Geçişi MC350i
C-AJ-2555 Şaft, Duvar veya Döşeme Geçen PVC Boru Yangın Yalıtımı Detayı
C-AJ-2555 Şaft, Duvar veya Döşeme Geçen PVC Boru Yangın Yalıtımı Detayı
F120 Dakika2" (50 mm) PVC, ABS, cPVC Boru Geçişi MC350i
F120 Dakika2" (50 mm) PVC, ABS, cPVC Boru Geçişi MC350i
C-AJ-2605 Şaft, Duvar veya Döşeme Geçen PEX Polietilen Boru Yangın Yalıtımı Detayı
C-AJ-2605 Şaft, Duvar veya Döşeme Geçen PEX Polietilen Boru Yangın Yalıtımı Detayı
F90 Dakika1" (25 mm) PEX Polietilen Boru Geçişi MC350i / MC1000
C-AJ-2679 Şaft, Duvar veya Döşeme Geçen PVC Boru Yangın İzolasyonu Detayı
C-AJ-2679 Şaft, Duvar veya Döşeme Geçen PVC Boru Yangın İzolasyonu Detayı
F120 Dakika4" (100 mm) PVC, cPVC, ABS, 25 mm PEX Polietilen Boru Geçişi MC Derz Contası / MC350i / MC1000 / MC150+
C-AJ-2687 Şaft, Duvar veya Döşeme Geçen PVC Boru Yangın Durdurucu Kelepçe Detayı
C-AJ-2687 Şaft, Duvar veya Döşeme Geçen PVC Boru Yangın Durdurucu Kelepçe Detayı
F180 Dakika6" (150 mm) PVC Boru Geçişi MC Sargı / MC350i / MC1000
C-AJ-2688 Şaft, Duvar veya Döşeme Geçen PVC Boru Yangın Yalıtım Detayı
C-AJ-2688 Şaft, Duvar veya Döşeme Geçen PVC Boru Yangın Yalıtım Detayı
F180 Dakika50 mm PVC/cPVC/ABS Boru Geçişi MC350i
C-AJ-2689 Şaft, Duvar veya Döşeme Geçen PVC Boru Yangın İzolasyonu Detayı
C-AJ-2689 Şaft, Duvar veya Döşeme Geçen PVC Boru Yangın İzolasyonu Detayı
F120 Dakika50 mm PVC Boru Geçişi MC350i / MC1000 / MC Sargı
C-AJ-2783 Şaft, Duvar veya Döşeme Geçen Pprc Boru Yangın Durdurucu Detayı
C-AJ-2783 Şaft, Duvar veya Döşeme Geçen Pprc Boru Yangın Durdurucu Detayı
F120 Dakika50 mm Pprc Boru Geçişi MC350i / MC1000
C-AJ-3026 Duvar veya Döşemeden Geçen Kablo Geçişi Yangın Durdurucu Detayı
C-AJ-3026 Duvar veya Döşemeden Geçen Kablo Geçişi Yangın Durdurucu Detayı
F120 DakikaData veya Telefon KablosuMC950
C-AJ-3027 Duvar veya Döşemeden Kablo Geçişi Yangın Durdurucu Detayı
C-AJ-3027 Duvar veya Döşemeden Kablo Geçişi Yangın Durdurucu Detayı
F120 DakikaData veya Telefon KablosuMC950
C-AJ-3035 Duvar veya Döşemeden Kablo Geçişi Yangın İzolasyonu Detayı
C-AJ-3035 Duvar veya Döşemeden Kablo Geçişi Yangın İzolasyonu Detayı
F180 DakikaData veya Telefon KablosuMC150+
C-AJ-3086 Duvar veya Döşemeden Kablo Demeti Yangın Durdurucu Detayı
C-AJ-3086 Duvar veya Döşemeden Kablo Demeti Yangın Durdurucu Detayı
F180 DakikaData veya Telefon KablosuMC1000
C-AJ-3087 Duvar veya Döşemeden Kablo Geçişi Yangın Durdurucu Detayı
C-AJ-3087 Duvar veya Döşemeden Kablo Geçişi Yangın Durdurucu Detayı
F180 DakikaData veya Telefon KablosuMC1000
C-AJ-3199 Şaft, Duvar veya Döşeme Geçen Kablo Yangın Durdurucu Detayı
C-AJ-3199 Şaft, Duvar veya Döşeme Geçen Kablo Yangın Durdurucu Detayı
F120 DakikaMuhtelif Kablo Geçişi MC350i / MC1000
C-AJ-3256 Şaft, Duvar veya Döşeme Geçen Kablo Yangın Yalıtımı Detayı
C-AJ-3256 Şaft, Duvar veya Döşeme Geçen Kablo Yangın Yalıtımı Detayı
F120 DakikaMuhtelif Kablo Geçişi MC350i
C-AJ-3286 Şaft, Duvar veya Döşeme Geçen Kablo Yangın İzolasyonu Detayı
C-AJ-3286 Şaft, Duvar veya Döşeme Geçen Kablo Yangın İzolasyonu Detayı
F180 DakikaMuhtelif Kablo Geçişi MC150+ / MC1000
Kablo Kanalı Geçişi Yangın Durdurucu Harç Detayı C-AJ-4021
Kablo Kanalı Geçişi Yangın Durdurucu Harç Detayı C-AJ-4021
F180 DakikaKablo Kanalı Geçişi Monokote
Kablo Kanalı Şaft Geçiş Yangın Yalıtım Detayı: C-AJ-4027
Kablo Kanalı Şaft Geçiş Yangın Yalıtım Detayı: C-AJ-4027
F180 DakikaKablo Tavası GeçişiMC Firestop Harç
Şaftlardan Geçen Kablo Tavası Yangın Durdurucu Detayı C-AJ-4040
Şaftlardan Geçen Kablo Tavası Yangın Durdurucu Detayı C-AJ-4040
F120 DakikaKablo Kanalı GeçişiMC 835+
Şaftlardan Geçen Kablo Tavası için Yangın Durdurucu Yastık Detayı C-AJ-4047
Şaft, Döşeme veya Duvar geçen kablo kanalı için yangın durdurucu yastık detayı C-AJ-4047
F180 DakikaKablo Tavası Geçişi MC Yangın Durdurucu Yastık
Yangın Durdurucu Yastık ile Kablo Kanalı Geçişinde yangın bariyeri detayı C-AJ-4049
Yangın Durdurucu Yastık ile Kablo Kanalı Geçişinde yangın bariyeri detayı C-AJ-4049
F240 DakikaKablo Tavası GeçişiMC Yangın Durdurucu Yastık
Döşeme veya Duvardan geçen Kablo Kanalı için Yangın Durdurucu Plaka Detayı C-AJ-4062
Döşeme veya Duvardan geçen Kablo Kanalı için Yangın Durdurucu Plaka Detayı C-AJ-4062
F240 DakikaKablo Kanalı GeçişiMC Macun, Kompozit Levha, MC 1000, MC Strip
Döşeme veya Duvar Geçen Kablo Kanalı Yangın Durdurucu Detayı C-AJ-4063
Döşeme veya Duvar Geçen Kablo Kanalı Yangın Durdurucu Detayı C-AJ-4063
F240 DakikaKablo Tavası Geçişi Macun / Plaka / Derz Contası
kablo-kanalı-gecisi-yangin-durdurucu-yastik-detayi-c-aj-4065
kablo-kanalı-gecisi-yangin-durdurucu-yastik-detayi-c-aj-4065
F180 DakikaKablo Tavası GeçişiMC Yastık / MC 1000
Şaft / Döşeme / Duvar geçen İzoleli Boru için Yangın Durdurucu Mastik Deytayı C-AJ-5011
Şaft / Döşeme / Duvar geçen İzoleli Boru için Yangın Durdurucu Mastik Deytayı C-AJ-5011
F180 Dakikaİzoleli Bakır Boru GeçişiMC 950
Döşeme, Şaft veya Duvar geçen izoleli boru için yangın durdurucu mastik detayı C-AJ-5070
Döşeme, Şaft veya Duvar geçen izoleli boru için yangın durdurucu mastik detayı C-AJ-5070
F180 Dakikaİzoleli Bakır Boru GeçişiMC 1000
Şaft, Duvar veya Döşeme Geçen Yalıtımlı Boru için Yangın Durdurucu Mastik Detayı C-AJ-5077
Şaft, Duvar veya Döşeme Geçen Yalıtımlı Boru için Yangın Durdurucu Mastik Detayı C-AJ-5077
F120 Dakikaİzoleli Çelik Boru GeçişiMC 1000
Şaft, Döşeme veya Duvar geçen yalıtımlı boru için yangın durdurucu mastk detayı C-AJ-5078
Şaft, Döşeme veya Duvar geçen yalıtımlı boru için yangın durdurucu mastk detayı C-AJ-5078
F120 Dakikaİzoleli Çelik Boru GeçişiMC 1000
Şaft, Döşeme veya Duvar geçen izolasyonlu boru için yangın durdurucu mastik detayı C-AJ-5084
Şaft, Döşeme veya Duvar geçen izolasyonlu boru için yangın durdurucu mastik detayı C-AJ-5084
F180 Dakikaİzolasyonlu Çelik Boru GeçişiMC 950
Duvar, Döşeme veya Şaft Geçen İzolasyonlu Boru Yangın Durdurucu Mastik Detayı C-AJ-5085
Duvar, Döşeme veya Şaft Geçen İzolasyonlu Boru Yangın Durdurucu Mastik Detayı C-AJ-5085
F180 Dakikaİzoleli Çelik Boru GeçişiMC 1000
İzoleli Yanıcı Boru Yangın Durdurucu Kelepçe Detayı C-AJ-5105
İzoleli Yanıcı Boru Yangın Durdurucu Kelepçe Detayı C-AJ-5105
F180 Dakikaİzoleli Yanıcı Boru GeçişiMC Kelepçe
Şaft / Döşeme / Duvar geçen Çelik veya Bakır boru için Yangın Durdurucu Silikon Uygulama Detayı C-AJ-5109
Şaft / Döşeme / Duvar geçen Çelik veya Bakır boru için Yangın Durdurucu Silikon Uygulama Detayı C-AJ-5109
F180 Dakikaİzoleli Bakır Boru / Çelik Boru GeçişiMC 835
Şaft / Döşeme veya Duvar Geçen Çelik Boru için Yangın Durdurucu Silikon Uygulama Detayı C-AJ-5110
Şaft / Döşeme veya Duvar Geçen Çelik Boru için Yangın Durdurucu Silikon Uygulama Detayı C-AJ-5110
F120 Dakikaİzoleli Çelik Boru GeçişiMC 835+
Şaft, Duvar veya Döşeme geçen izoleli çelik boru için yangın durdurucu mastik detayı C-AJ-5134
Şaft, Duvar veya Döşeme geçen izoleli çelik boru için yangın durdurucu mastik detayı C-AJ-5134
F120 Dakikaİzoleli Çelik Boru GeçişiMC 1000
İzoleli Boru Çoklu Geçiş Yangın Durdurucu Mastik Uygulama Detayı C-AJ-5136
İzoleli Boru Çoklu Geçiş Yangın Durdurucu Mastik Uygulama Detayı C-AJ-5136
F120 Dakikaİzoleli Çelik Boru GeçişiMC 1000
Duvar veya Döşeme Geçen İzoleli pvc boru yangın durdurucu kelepçe detayı C-AJ-5157
Duvar veya Döşeme Geçen İzoleli pvc boru yangın durdurucu kelepçe detayı C-AJ-5157
F120 Dakikaİzoleli PVC Boru GeçişiMC Kelepçe
Duvar veya Döşeme Geçen Yalıtımlı PVC Boru için Yangın Durdurucu Mastik Detayı C-AJ-5159
Duvar veya Döşeme Geçen Yalıtımlı PVC Boru için Yangın Durdurucu Mastik Detayı C-AJ-5159
F120 Dakikaİzoleli PVC Boru GeçişiMC 1000 / MC Kelepçe
C-AJ-5161 Duvar / Döşeme geçen İzoleli PVC Boru Yangın Durdurucu Mastik Detayı
C-AJ-5161 Duvar / Döşeme geçen İzoleli PVC Boru Yangın Durdurucu Mastik Detayı
F120 Dakikaİzoleli PVC Boru GeçişiMC 1000
C-AJ-5175 Duvar / Döşeme geçen İzoleli Boru Yangın Durdurucu Mastik Detayı
C-AJ-5175 Duvar / Döşeme geçen İzoleli Boru Yangın Durdurucu Mastik Detayı
F180 Dakikaİzoleli Boru GeçişiMC 150
Şaft / Döşeme veya Duvar Geçen İzoleli Boru Yangın Durdurucu Mastik Detayı C-AJ-5208
Şaft / Döşeme veya Duvar Geçen İzoleli Boru Yangın Durdurucu Mastik Detayı C-AJ-5208
F120 Dakikaİzoleli Boru GeçişiMC1000 / MC350i
Şaft, Döşeme veya Duvar geçen Yalıtımlı Boru için Yangın Durdurucu Mastik Uygulama Detayı C-AJ-5222
Şaft, Döşeme veya Duvar geçen Yalıtımlı Boru için Yangın Durdurucu Mastik Uygulama Detayı C-AJ-5222
F120 DakikaYalıtımlı Boru GeçişiMC1000 / MC150+ / MC350i
Şaft, Döşeme veya Duvar Geçen İzolasyonlu Boru için Yangın Durdurucu Mastik Detayı C-AJ-5223
Şaft, Döşeme veya Duvar Geçen İzolasyonlu Boru için Yangın Durdurucu Mastik Detayı C-AJ-5223
F120 Dakikaİzolasyonlu Boru GeçişiMC 150+
Şaft, Döşeme veya Duvar Geçen İzoleli Boru için Yangın Durdurucu Mastik Detayı C-AJ-5224
Şaft, Döşeme veya Duvar Geçen İzoleli Boru için Yangın Durdurucu Mastik Detayı C-AJ-5224
F120 Dakikaİzoleli Boru GeçişiMC 1000
Şaft, Döşeme veya Duvar geçen izoleli boru çoklu geçişi için yangın durdurucu mastik detayı C-AJ-5238
Şaft, Döşeme veya Duvar geçen izoleli boru çoklu geçişi için yangın durdurucu mastik detayı C-AJ-5238
F180 Dakikaİzoleli Boru GeçişiMC1000 / MC350i
Şaft, Döşeme veya Duvar Geçen İzoleli Boru için Yangın Durdurucu Mastik Detayı C-AJ-5249
Şaft, Döşeme veya Duvar Geçen İzoleli Boru için Yangın Durdurucu Mastik Detayı C-AJ-5249
F90 Dakikaİzoleli Boru GeçişiMC1000 / MC350i
Şaft, Döşeme veya Duvar geçen Yalıtımlı Boru için Yangın Durdurucu Mastik Detayı C-AJ-5250
Şaft, Döşeme veya Duvar geçen Yalıtımlı Boru için Yangın Durdurucu Mastik Detayı C-AJ-5250
F60 DakikaYalıtımlı Boru GeçişiMC1000 / MC350i
Şaft, Döşeme veya Duvar Geçen İzolasyonlu Boru için Yangın Durdurucu Mastik Detayı C-AJ-5251
Şaft, Döşeme veya Duvar Geçen İzolasyonlu Boru için Yangın Durdurucu Mastik Detayı C-AJ-5251
F90 DakikaYalıtımlı Boru GeçişiMC1000 / MC Sargı / MC350i
Şaft, Duvar veya Döşeme Geçen Yanıcı İzoleli Boru için Yangın Durdurucu Mastik Detayı C-AJ-5252
Şaft, Duvar veya Döşeme Geçen Yanıcı İzoleli Boru için Yangın Durdurucu Mastik Detayı C-AJ-5252
F120 DakikaYalıtımlı Boru GeçişiMC 1200 ve MC Sargı
Şaft, Döşeme veya Duvar Geçen Yalıtımlı Boru için Yangın Durdurucu Mastik Detayı C-AJ-5278
Şaft, Döşeme veya Duvar Geçen Yalıtımlı Boru için Yangın Durdurucu Mastik Detayı C-AJ-5278
F120 DakikaYalıtımlı Boru GeçişiMC 1000
Şaft, Döşeme veya Duvar geçen İzolasyonlu Boru için Yangın Durdurucu Mastik Detayı C-AJ-5283
Şaft, Döşeme veya Duvar geçen İzolasyonlu Boru için Yangın Durdurucu Mastik Detayı C-AJ-5283
F180 Dakikaİzolasyonlu Boru GeçişiMC1000 / MC150+ / MC350i
Şaft, Döşeme veya Duvar geçen İzoleli Boru için Yangın Durdurucu Mastik Detayı C-AJ-5284
Şaft, Döşeme veya Duvar geçen İzoleli Boru için Yangın Durdurucu Mastik Detayı C-AJ-5284
F120 Dakikaİzolasyonlu Boru GeçişiMC 1000
C-AJ-5296 Şaft veya Duvar geçen İzolasyonlu Boru Yangın Yalıtımı Mastik Detayı
C-AJ-5296 Şaft veya Duvar geçen İzolasyonlu Boru Yangın Yalıtımı Mastik Detayı
F120 Dakikaİzolasyonlu Boru GeçişiMC350i
C-AJ-5297 Şaft veya Duvar geçen İzoleli Boru Yangın İzolasyonu Mastik Detayı
C-AJ-5297 Şaft veya Duvar geçen İzoleli Boru Yangın İzolasyonu Mastik Detayı
F120 Dakikaİzolasyonlu Boru GeçişiMC350i
Şaft, Döşeme veya Duvar geçen Yalıtımlı Boru için Yangın Durdurucu Silikon Detayı C-AJ-5354
Şaft, Döşeme veya Duvar geçen Yalıtımlı Boru için Yangın Durdurucu Silikon Detayı C-AJ-5354
F120 Dakikaİzolasyonlu Boru GeçişiMC 835+
Şaft, Döşeme veya Duvar geçen Yalıtımlı Boru için Yangın Yalıtımı Detayı C-AJ-5379
Şaft, Döşeme veya Duvar geçen Yalıtımlı Boru için Yangın Yalıtımı Detayı C-AJ-5379
F120 Dakikaİzolasyonlu Boru GeçişiMC1000 / MC150+ / MC Macun / MC İntumesan Klavuz / MC350i
Şaft, Döşeme veya Duvar geçen Yalıtımlı Boru için Yangın Durdurucu Detayı C-AJ-5380
Şaft, Döşeme veya Duvar geçen Yalıtımlı Boru için Yangın Durdurucu Detayı C-AJ-5380
F120 DakikaYalıtımlı Boru GeçişiMC1000 / MC150+ / MC Sargı / MC350i
Şaft, Döşeme veya Duvar geçen İzoleli Boru için Yangın Durdurucu Yastık Detayı C-AJ-5381
Şaft, Döşeme veya Duvar geçen İzoleli Boru için Yangın Durdurucu Yastık Detayı C-AJ-5381
F120 Dakikaİzoleli Boru GeçişiMC1000 / MC150+ / MC Yangın Durdurucu Yastık
Şaft, Döşeme veya Duvar geçen İzoleli Boru için Yangın Durdurucu Mastik Detayı C-AJ-5382
Şaft, Döşeme veya Duvar geçen İzoleli Boru için Yangın Durdurucu Mastik Detayı C-AJ-5382
F120 Dakikaİzoleli Boru GeçişiMC1000 / MC350i
Şaft, Döşeme veya Duvar geçen İzoleli Polipropilen Boru için Yangın Durdurucu Mastik Detayı C-AJ-5396
Şaft, Döşeme veya Duvar geçen İzoleli Polipropilen Boru için Yangın Durdurucu Mastik Detayı C-AJ-5396
F120 Dakikaİzoleli Boru GeçişiMC1000 / MC Klavuz / MC350i
Bus Bar Yangın Durdurucu Harç Geçişi Detayı C-AJ-6010
Bus Bar Yangın Durdurucu Harç Geçişi Detayı C-AJ-6010
F180 DakikaBus Bar Yangın DurdurucuMonokote HPM
Şaft Geçen Bus Bar Yangın Yalıtımı C-AJ-6011
Şaft Geçen Bus Bar Yangın Yalıtımı C-AJ-6011
F120 DakikaDuvar veya Döşemeden Geçen Bus Bar Yangın DurdurucuMC150+
Busbar Yangın Durdurucu Mastik Detayı C-AJ-6013
Busbar Yangın Durdurucu Mastik Detayı C-AJ-6013
F120 DakikaBus Bar Geçişi MC350i / MC1000
Şaft Geçen BusBar Yangın İzolasyonu C-AJ-6025
Şaft Geçen BusBar Yangın İzolasyonu C-AJ-6025
F120 DakikaBusBar Yangın İzolasyonuMC1000
Şaft Geçen Bus Bar Yangın Koruma Detayı C-AJ-6027
Şaft Geçen Bus Bar Yangın Koruma Detayı C-AJ-6027
F180 DakikaŞaft Geçen Bus Bar Yangın Koruma DetayıMC150+
Şaft Geçen Bus Bar Yangın Durdurucu Detayı C-AJ-6031
Şaft Geçen Bus Bar Yangın Durdurucu Detayı C-AJ-6031
F120 DakikaŞaftlardan Busbar GeçişiMC835+
Döşeme veya Duvar Geçen Hava Kanalı Yangın Durdurucu Silikon Uygulama Detayı C-AJ-7028
Döşeme veya Duvar Geçen Hava Kanalı Yangın Durdurucu Silikon Uygulama Detayı C-AJ-7028
F120 DakikaHava Kanalı Geçişi 610x305MC 835+
Döşeme veya Duvar geçen Hava Kanalı Yangın Durdurucu Mastik Detayı C-AJ-7038
Döşeme veya Duvar geçen Hava Kanalı Yangın Durdurucu Mastik Detayı C-AJ-7038
F120 DakikaHava Kanalı Geçişi 610x305MC1000 / MC350i
Döşeme veya Duvar Geçen Havalandırma Kanalı Yangın Durdurucu Mastik Uygulama Detayı C-AJ-7067
Döşeme veya Duvar Geçen Havalandırma Kanalı Yangın Durdurucu Mastik Uygulama Detayı C-AJ-7067
F120 DakikaHavalandırma Kanalı İzolasyonsuz 600x300MC 150+
Döşeme veya Duvar Geçen Hava Kanalı Yangın Yalıtım Detayı Yangın Durdurucu Mastik C-AJ-7074
Döşeme veya Duvar Geçen Hava Kanalı Yangın Yalıtım Detayı Yangın Durdurucu Mastik C-AJ-7074
F120 DakikaHavalandırma Kanalı İzolasyonsuz 900x500MC 150+
Döşeme veya Duvar Geçen Hava Kanalı Yangın Durdurucu Mastik Detayı C-AJ-7075
Döşeme veya Duvar Geçen Hava Kanalı Yangın Durdurucu Mastik Detayı C-AJ-7075
F180 DakikaHava Kanalı İzolasyonsuz 762x254MC 150+
C-AJ-7082 Duvar veya Döşeme Geçen Havalandırma Yangın Durdurucu Mastik Detayı
C-AJ-7082 Duvar veya Döşeme Geçen Havalandırma Yangın Durdurucu Mastik Detayı
F180 DakikaHava Kanalı İzolasyonsuz Çap:610MC 150+
C-AJ-7087 Havalandırma Kanalı Yangın Durdurucu Mastik Detayı
C-AJ-7087 Havalandırma Kanalı Yangın Durdurucu Mastik Detayı
F120 DakikaHava Kanalı İzolasyonsuz Çap:152MC 150+
C-AJ-7088 Hava Kanalı Yangın İzolasyonu Detayı
C-AJ-7088 Hava Kanalı Yangın İzolasyonu Detayı
F180 DakikaHava Kanalı İzolasyonsuz 762x762MC 150+ / MC1000 / MC1200
C-AJ-7112 Havalandırma Kanalı Yangın İzolasyonu Detayı
C-AJ-7112 Havalandırma Kanalı Yangın İzolasyonu Detayı
F180 DakikaHava Kanalı İzolasyonsuz 762x762MC150+ / MC1000 / MC350i
C-AJ-7199 Havalandırma Kanalı Yangın Yalıtımı Yangın Test Raporu
C-AJ-7199 Havalandırma Kanalı Yangın Yalıtımı Yangın Test Raporu
F120 DakikaHava Kanalı İzolasyonsuz Çap:914MC1000
C-AJ-7207 Havalandırma Kanalı Yangın Mastiği Yangın Test Raporu
C-AJ-7207 Havalandırma Kanalı Yangın Mastiği Yangın Test Raporu
F120 DakikaHava Kanalı İzolasyonsuz Çap:914MC1000
C-AJ-7214 Hava Kanalı Yangına Dayanıklı Mastik Detayı
C-AJ-7214 Hava Kanalı Yangına Dayanıklı Mastik Detayı
F120 DakikaHava Kanalı İzolasyonsuz Çap:914MC1000
C-AJ-8042 Duvar veya Döşeme Geçen Karma Boru Gurubu Yangın Durdurucu Detayı
C-AJ-8042 Duvar veya Döşeme Geçen Karma Boru Gurubu Yangın Durdurucu Detayı
F120 DakikaÇelik, Bakır, Döküm, PVC ve Konduit Gurup GeçişiMC350i / MC1000
C-AJ-8161 Duvar veya Döşeme Geçen Çoklu Boru Yangın Durdurucu Detayı
C-AJ-8161 Duvar veya Döşeme Geçen Çoklu Boru Yangın Durdurucu Detayı
F120 DakikaÇelik, Bakır Borular Gurup GeçişiMC350i / MC1000 / MC150+
C-AJ-8175 Duvar veya Döşeme Geçen Çoklu Boru Yangın Yalıtımı Detayı
C-AJ-8175 Duvar veya Döşeme Geçen Çoklu Boru Yangın Yalıtımı Detayı
F120 DakikaÇelik, Bakır, çlik konduit Borular Gurup GeçişiMC350i
Kablo Kanalı Yangın Durdurucu Detayı C-BJ-4030
Kablo Kanalı Yangın Durdurucu Detayı C-BJ-4030
F180 DakikaKablo Tavası Geçişi MC 1200
Yangın Durdurucu Hazır Rezervasyon ile uygulama detayı F-A-0016
Yangın Durdurucu Hazır Rezervasyon ile uygulama detayı F-A-0016
F240 DakikaDöşemede Boş Rezervasyon F240Putty / YD Rezervasyon
Yangın Durdurucu Rezervasyon elemanı ve yangın durdurucu silikon ile yangın bariyeri , yangın testi raporu F-A-0017
Yangın Durdurucu Rezervasyon elemanı ve yangın durdurucu silikon ile yangın bariyeri , yangın testi raporu F-A-0017
F180 DakikaDöşemede Boş Rezervasyon F180MC YD Rezervason / MC 835+
Yangın Durdurucu Macun ve Manşon ile Yangın Test Raporu F-A-0018
Yangın Durdurucu Macun ve Manşon ile Yangın Test Raporu F-A-0018
F120 DakikaBoş Rezervasyon Kompozit Döşeme Macun / Manşon
Yangın Durdurucu Mastik ve Manşon Yangın Test Raporu F-A-0019
Yangın Durdurucu Mastik ve Manşon Yangın Test Raporu F-A-0019
F240 DakikaBoş Rezervasyon F240Manşon, MC 150+
Yangın Durdurucu Manşon UL yangın testi raporu F-A-0021
Yangın Durdurucu Manşon UL yangın testi raporu F-A-0021
F120 DakikaBoş Rezervasyon F120Manşon, MC 150+
Yangın Durdurucu Rezervasyon Detayı F-A-0022
Yangın Durdurucu Rezervasyon Detayı F-A-0022
F120 DakikaBetonarme Döşeme Boş Rezervasyon Manşon, MC150+, MC1200
Betonarme Döşemede Yangın Durdurucu Manşon ile Boş Rezervasyon Detayı F-A-0023
Betonarme Döşemede Yangın Durdurucu Manşon ile Boş Rezervasyon Detayı F-A-0023
F120 DakikaBetonarme Döşeme Boş RezervasyonYD Rezervasyon , MC1 150+
F-A-1043 Çelik Döşeme Geçen Metal Boru Detayı
F-A-1043 Çelik Döşeme Geçen Metal Boru Detayı
F120 DakikaÇelik Döşeme - 12" çelik veya döküm boru / 4"-6" EMT veya 4" Bakır BoruMC 150+
F-A-1048 Çelik Döşeme Yangın Yalıtım Metal Boru Yangın Durdurucu Detayı
F-A-1048 Çelik Döşeme Yangın Yalıtım Metal Boru Yangın Durdurucu Detayı
F120 DakikaÇelik Döşeme - 8" çelik veya döküm boru / 6" EMT veya 4" Bakır BoruMC 150+
F-A-1070 Boru için Çelik Döşeme Yangın Durdurucu Test Raporu
F-A-1070 Boru için Çelik Döşeme Yangın Durdurucu Test Raporu
F120 DakikaÇelik Döşeme Metal Boru GeçişiMC350i
F-A-1073 Çelik Döşemeden Geçen Metal Boru Yangın İzolasyonu Detayı
F-A-1073 Çelik Döşemeden Geçen Metal Boru Yangın İzolasyonu Detayı
F240 DakikaÇelik Döşeme - 6" çelik veya döküm boru veya EMT veya Bakır BoruMC Rezerv. / MC1000 / MC1200 / MC835+ / MC150+
F-A-1074 Çelik Döşeme Yangın Koruma Detayı - Metal Boru
F-A-1074 Çelik Döşeme Yangın Koruma Detayı - Metal Boru
F120 DakikaÇelik Döşeme - 6" çelik veya döküm boru veya EMT veya Bakır BoruMC Rezerv. / MC1000 / MC1200 / MC835+ / MC150+
F-A-1075 Çelik Döşeme - Metal Boru Yangın Koruma Detayı
F-A-1075 Çelik Döşeme - Metal Boru Yangın Koruma Detayı
F240 DakikaÇelik Döşeme - 4" çelik veya döküm boru veya EMT veya Bakır BoruMC Rezerv.
F-A-1076 Yangın Durdurucu Detayı Çelik Döşeme - Metal Boru
F-A-1076 Yangın Durdurucu Detayı Çelik Döşeme - Metal Boru
F120 DakikaÇelik Döşeme - 4" çelik veya döküm boru veya EMT veya Bakır BoruMC Rezerv.
F-A-1080 Yangın Durdurucu Detayı Kompozit Döşeme - Metal Boru İçin
F-A-1080 Yangın Durdurucu Detayı Kompozit Döşeme - Metal Boru İçin
F120 DakikaÇelik Döşeme - 4" çelik veya döküm boru veya EMT veya Bakır BoruMC Rezerv.
F-A-1081 Yangın Yalıtımı Detayı Kompozit Döşeme - Metal Boru İçin
F-A-1081 Yangın Yalıtımı Detayı Kompozit Döşeme - Metal Boru İçin
F120 DakikaÇelik Döşeme - 4" çelik veya döküm boru veya EMT veya Bakır BoruMC Rezerv.
F-A-1087 Yangın İzolasyonu Detayı Kompozit Döşeme - Metal Boru İçin
F-A-1087 Yangın İzolasyonu Detayı Kompozit Döşeme - Metal Boru İçin
F120 DakikaÇelik Döşeme - 6" çelik veya döküm boru veya EMT veya Bakır BoruMC Rezerv.
F-A-1088 Çelik Kompozit Döşeme - Metal Boru İçin Yangın Durdurucu
F-A-1088 Çelik Kompozit Döşeme - Metal Boru İçin Yangın Durdurucu
F120 DakikaÇelik Döşeme - 2"4" çelik veya döküm boru veya EMT veya Bakır BoruMC Rezerv.
F-A-1099 Betonarme Döşeme - Konduit İçin Yangın Durdurucu
F-A-1099 Betonarme Döşeme - Konduit İçin Yangın Durdurucu
F120 DakikaBetonarme Döşeme - 1-1/2" çelik veya EMT veya Alüminyum KonduitMC Rezerv.
F-A-1190 Betonarme Döşeme - Döküm Boru İçin Yangın Durdurucu
F-A-1190 Betonarme Döşeme - Döküm Boru İçin Yangın Durdurucu
F120 DakikaBetonarme - 6" Döküm BoruMC Rezerv. / MC835+
F-A-1205 Betonarme Döşeme - Boru Geçişi Yangın Durdurucu
F-A-1205 Betonarme Döşeme - Boru Geçişi Yangın Durdurucu
F120 DakikaBetonarme - 6" Döküm Boru / Çelik Boru / PVC BoruMC Rezerv. / MC150+ veya MC1000
F-A-2017 İzoleli Boru için Şaft Geçişi Yangın Durdurucu Test Raporu
F-A-2017 İzoleli Boru için Şaft Geçişi Yangın Durdurucu Test Raporu
F120 DakikaPVC Boru GeçişiMC Sargı / MC350i / MC1000
F-A-2019 PPRC Boru için Şaft Geçişi Yangın Durdurucu Test Raporu
F-A-2019 PPRC Boru için Şaft Geçişi Yangın Durdurucu Test Raporu
F120 DakikaFRPP Boru GeçişiMC Sargı / MC350i / MC1000
F-A-2113 Klozet Yangın Durdurucu Test Raporu
F-A-2113 Klozet Yangın Durdurucu Test Raporu
F120 DakikaKlozet PVC GeçişiMC350i / MC1000 / MC150
F-A-2172 PVC Boru Yangın Durdurucu Test Raporu
F-A-2172 PVC Boru Yangın Durdurucu Test Raporu
F120 DakikaPCV, cPVC, PVC-XFR Boru 100 mmMC Sargı / MC Derz Contası / MC350i / MC1000 / MC150
F120 DakikaPolipropilen Boru 2 inçMC350i / MC1000
F-A-2227 PPRC Boru Yangın Durdurucu Test Raporu
F-A-2227 PPRC Boru Yangın Durdurucu Test Raporu
F120 DakikaPPRC Boru 2 inçMC350i / MC1000
F-A-2228 PPRC Boru Yangın Yalıtımı Test Raporu
F-A-2228 PPRC Boru Yangın Yalıtımı Test Raporu
F120 DakikaPPRC Boru 4 inçMC Manşet / MC150+ / MC350i / MC1000 / MC Macun
F-A-2277 Yanıcı Boru Yangın Yalıtımı Test Raporu
F-A-2277 Yanıcı Boru Yangın Yalıtımı Test Raporu
F120 DakikaPVC / cPVC / ABS / Konduit Boru 100 mmMC Derz Contası / MC350i / MC1000
Şaft, Döşeme veya Duvar geçen İzoleli Boru için Yangın Durdurucu Rezervasyon Detayı F-A-5034
Şaft, Döşeme veya Duvar geçen İzoleli Boru için Yangın Durdurucu Rezervasyon Detayı F-A-5034
F180 Dakikaİzoleli Boru GeçişiMC1000 / MC Rezervasyon
Şaft, Döşeme veya Duvar geçen İzoleli Boru için Yangın Durdurucu Rezervasyon Detayı F-A-5035
Şaft, Döşeme veya Duvar geçen İzoleli Boru için Yangın Durdurucu Rezervasyon Detayı F-A-5035
F180 Dakikaİzoleli Boru GeçişiMC1200 veya MC 835+ / MC Rezervasyon
Şaft, Döşeme veya Duvar geçen İzoleli Boru için Yangın Durdurucu Rezervasyon Detayı F-A-5037
Şaft, Döşeme veya Duvar geçen İzoleli Boru için Yangın Durdurucu Rezervasyon Detayı F-A-5037
F120 Dakikaİzoleli Boru GeçişiMC1200 veya MC 835+ veya MC1000 / MC Rezervasyon
F-B-1027 Betonarme Döşeme - Süzgeç Geçişi Yangın Durdurucu
F-B-1027 Betonarme Döşeme - Süzgeç Geçişi Yangın Durdurucu
F120 DakikaBetonarme - 3" Döküm Boru / Çelik BoruMC835+ / MC Plaka
F-B-1028 Betonarme Döşeme - Gider Geçişi Yangın Durdurucu
F-B-1028 Betonarme Döşeme - Gider Geçişi Yangın Durdurucu
F120 DakikaBetonarme - 3" Döküm Boru / Çelik BoruMC835+ / MC Plaka
F-C-1020 Ahşap Döşeme Geçen Boru Yangın Test Raporu
F-C-1020 Ahşap Döşeme Geçen Boru Yangın Test Raporu
F120 DakikaÇelik / Konduit Boru 4" Bakır Boru 3"MC350i / MC1000
F-C-1037 Ahşap Döşeme - Elektrik Konduit Geçişi Yangın Durdurucu
F-C-1037 Ahşap Döşeme - Elektrik Konduit Geçişi Yangın Durdurucu
F120 DakikaAhşap Döşeme - 1/2" Çelik Konduit BoruMC1000 / MC350i
F-C-1084 Ahşap Döşeme - Metal Boru Geçişi Yangın Durdurucu
F-C-1084 Ahşap Döşeme - Metal Boru Geçişi Yangın Durdurucu
F120 DakikaAhşap Döşeme - 4" Çelik / Çelik Konduit / Bakır / Döküm BoruMC150+
F-C-1089 Ahşap Döşeme - Metal Boru Geçişi Yangın Durdurucu
F-C-1089 Ahşap Döşeme - Metal Boru Geçişi Yangın Durdurucu
F60 DakikaAhşap Döşeme - 4" Çelik / Çelik Konduit / Bakır / Döküm BoruMC1000
F-C-1125 Ahşap Döşeme - Metal Boru Geçişi Yangın Durdurucu
F-C-1125 Ahşap Döşeme - Metal Boru Geçişi Yangın Durdurucu
F120 DakikaAhşap Döşeme - 3" Çelik Konduit demet olarakMC150+
F-C-1155 Ahşap Döşeme - Metal Konduit Boru Geçişi Yangın Durdurucu
F-C-1155 Ahşap Döşeme - Metal Konduit Boru Geçişi Yangın Durdurucu
F60 DakikaAhşap Döşeme - 2" Çelik Konduit MC1000
F-C-2042 Ahşap Döşemeden Geçen Yanıcı Boru Yangın Test Raporu
F-C-2042 Ahşap Döşemeden Geçen Yanıcı Boru Yangın Test Raporu
F120 Dakika50 mm PVC / Konduit / cPVC ve 25 mm KonduitMC150+ / MC1000 / MC350i
F-C-2083 Ahşap Döşemeden Geçen Yanıcı Boru Yangın Test Raporu
F-C-2083 Ahşap Döşemeden Geçen Yanıcı Boru Yangın Test Raporu
F120 Dakika100 mm PVC / Konduit / cPVC / KonduitMC Sargı / MC1000 / MC350i
F-C-2087 Ahşap Döşeme Yanıcı Boru Yangın Durdurucu Test Raporu
F-C-2087 Ahşap Döşeme Yanıcı Boru Yangın Durdurucu Test Raporu
F60 Dakika100 mm PVC / ABS BoruMC150+ / MC1000 / MC350i
F-C-2089 Ahşap Döşeme PVC Boru Yangın Durdurucu Test Raporu
F-C-2089 Ahşap Döşeme PVC Boru Yangın Durdurucu Test Raporu
F60 Dakika38 mm PVC / ABS BoruMC150+ / MC1000 / MC350i
F-C-2091 Ahşap Döşeme Atık Su Yangın Durdurucu Test Raporu
F-C-2091 Ahşap Döşeme Atık Su Yangın Durdurucu Test Raporu
F60 Dakika100 mm PVC / ABS BoruMC150+ / MC1000 / MC350i
F-C-2221 Ahşap Döşeme Polietilen Boru Yangın Durdurucu Test Raporu
F-C-2221 Ahşap Döşeme Polietilen Boru Yangın Durdurucu Test Raporu
F120 Dakika3/4" Polietilen BoruMC150+ / MC1000 / MC350i
F-C-2298 Ahşap Döşeme ABS PVC Boru Yangın Durdurucu Test Raporu
F-C-2298 Ahşap Döşeme ABS PVC Boru Yangın Durdurucu Test Raporu
F60 DakikaPVC/cPVC/ABS Boru 50 mm PEX Boru 25 mmMC150+ / MC1000 / MC350i
F-C-2326 Ahşap Döşeme ABS / PVC Boru Yangın İzolasyonu Test Raporu
F-C-2326 Ahşap Döşeme ABS / PVC Boru Yangın İzolasyonu Test Raporu
F60 DakikaPVC/ABS Boru 38 mmMC350i
F-C-2329 Ahşap Döşeme Yanıcı Boru Yangın Yalıtımı Test Raporu
F-C-2329 Ahşap Döşeme Yanıcı Boru Yangın Yalıtımı Test Raporu
F60 DakikaPVC/ABS/PEX/cPVC Boru 50 mmMC350i / MC150+
F-C-2385 Ahşap Döşeme Polietilen Boru Yangın İzolasyonu Test Raporu
F-C-2385 Ahşap Döşeme Polietilen Boru Yangın İzolasyonu Test Raporu
F120 DakikaPEX Boru veya KonduitMC350i / MC1000
F-C-2398 Ahşap Döşeme PPRC Boru Yangın İzolasyonu Test Raporu
F-C-2398 Ahşap Döşeme PPRC Boru Yangın İzolasyonu Test Raporu
F60 DakikaPEX cPVC PVC PPRC Boru veya KonduitMC350i / MC1000 / MC150+
F-C-2418 Ahşap Döşeme ABS Boru Yangın İzolasyonu Test Raporu
F-C-2418 Ahşap Döşeme ABS Boru Yangın İzolasyonu Test Raporu
F60 DakikaABS cPVC PVCBoruMC350i / MC1000
F-C-5010 Ahşap Döşeme geçen İzolasyonlu Boru Yangın Durdurucu Mastik Detayı
F-C-5010 Ahşap Döşeme geçen İzolasyonlu Boru Yangın Durdurucu Mastik Detayı
F120 Dakikaİzoleli Boru GeçişiMC1000
F-C-5011 Ahşap Döşeme geçen İzolasyonlu Boru Yangın Yalıtımı Detayı
F-C-5011 Ahşap Döşeme geçen İzolasyonlu Boru Yangın Yalıtımı Detayı
F60 Dakikaİzoleli Boru GeçişiMC1000
Ahşap Döşeme İzoleli Boru Yangın Durdurucu Detayı F-C-5059
Ahşap Döşeme İzoleli Boru Yangın Durdurucu Detayı F-C-5059
F120 Dakikaİzoleli Boru GeçişiMC150
F-C-5063 Ahşap Döşeme geçen Yalıtımlı Boru Yangın Durdurucu Detayı
F-C-5063 Ahşap Döşeme geçen Yalıtımlı Boru Yangın Durdurucu Detayı
F60 DakikaYalıtımlı Boru GeçişiMC150
F-C-5078 Ahşap Döşeme geçen İzoleli Boru Yangın Durdurucu Detayı
F-C-5078 Ahşap Döşeme geçen İzoleli Boru Yangın Durdurucu Detayı
F60 Dakikaİzoleli Boru GeçişiMC150
F-C-7007 Ahşap Döşeme Geçen Hava Kanalı Yangın Durdurucu Detayı
F-C-7007 Ahşap Döşeme Geçen Hava Kanalı Yangın Durdurucu Detayı
F120 DakikaHava Kanalı Geçişi Çap:102MC 1000
F-C-7008 Ahşap Döşeme Yangın Yalıtımı Geçen Tesisat: Hava Kanalı
F-C-7008 Ahşap Döşeme Yangın Yalıtımı Geçen Tesisat: Hava Kanalı
F60 DakikaHava Kanalı Geçişi 152x254MC 1000
F-C-7019 Ahşap Döşeme Yangın İzolasyonu Geçen Tesisat: HVAC Kanalı
F-C-7019 Ahşap Döşeme Yangın İzolasyonu Geçen Tesisat: HVAC Kanalı
F120 DakikaHava Kanalı Geçişi Çap:152MC 150+
F-C-7040 Ahşap Döşeme Yangın Durdurucu Geçen Tesisat: Çelik Halat
F-C-7040 Ahşap Döşeme Yangın Durdurucu Geçen Tesisat: Çelik Halat
F60 DakikaÇelik HalatMC 150+ / MC1000 / MC1200
F-C-7047 Ahşap Döşeme Yangın Durdurucu Geçen Tesisat: HVAC
F-C-7047 Ahşap Döşeme Yangın Durdurucu Geçen Tesisat: HVAC
F60 DakikaHavalandırma Kanalı Çap:152MC 150+
F-E-1005 Çelik Döşeme Boru Geçişi Yangın Durdurucu
F-E-1005 Çelik Döşeme Boru Geçişi Yangın Durdurucu
F60 DakikaÇelik Döşeme - 4" Çelik / EMT Konduit / Bakır / Döküm BoruMC1000 / MC150+
F-E-1006 Çelik Döşeme Konduit Geçişi Yangın Durdurucu
F-E-1006 Çelik Döşeme Konduit Geçişi Yangın Durdurucu
F60 DakikaÇelik Döşeme - 1/2" çoklu EMT Konduit MC1000 / MC150+
F-E-5003 Çelik Döşeme geçen İzoleli Boru Yangın Durdurucu Detayı
F-E-5003 Çelik Döşeme geçen İzoleli Boru Yangın Durdurucu Detayı
F60 Dakikaİzoleli Boru GeçişiMC1000
F-E-7003 Kompozit Döşeme Yangın Yalıtımı Hava kanalı
F-E-7003 Kompozit Döşeme Yangın Yalıtımı Hava kanalı
F60 DakikaHavalandırma Kanalı Çap:153MC 150+ / FS900
TRC-PH-120-01 Döşeme Geçen Bakır Boru Yangın Durdurucu Detayı
TRC-PH-120-01 Döşeme Geçen Bakır Boru Yangın Durdurucu Detayı
F120 DakikaÇoklu Bakır Boru GeçişiMC950
TRC-PV-120-02 Döşeme Geçen Boru Gurubu Yangın Yalıtımı Detayı
TRC-PV-120-02 Döşeme Geçen Boru Gurubu Yangın Yalıtımı Detayı
F120 DakikaÇoklu Bakır Boru GeçişiMC950
TRC-PH-120-05 Döşeme Geçen Boru Gurubu Yangın İzolasyonu Detayı
TRC-PH-120-05 Döşeme Geçen Boru Gurubu Yangın İzolasyonu Detayı
F120 DakikaPVC Boru GeçişiMC950
TRC-PH-180-01 Döşeme Geçen Boru Yangın Koruma Detayı
TRC-PH-180-01 Döşeme Geçen Boru Yangın Koruma Detayı
F180 Dakika10" Çelik Boru GeçişiMC950
TRC-PH-180-02 Döşeme Geçen Boru Yangın Mastik Detayı
TRC-PH-180-02 Döşeme Geçen Boru Yangın Mastik Detayı
F180 Dakika3" Bakır Boru GeçişiMC950
TRC-PHV-120-01 Döşeme Geçen Boru Yangın Durdurucu Mastik Detayı
TRC-PHV-120-01 Döşeme Geçen Boru Yangın Durdurucu Mastik Detayı
F120 Dakika1" Çelik Boru Gurubu GeçişiMC950
TRC-PHV-120-03 Döşeme Geçen Boru Yangın Yalıtımı Mastik Detayı
TRC-PHV-120-03 Döşeme Geçen Boru Yangın Yalıtımı Mastik Detayı
F120 Dakika1" Çelik Boru Gurubu GeçişiMC950
TRC-PV-120-08 Alçıpan Duvar Geçen Boru Yangın Durdurucu Mastik Detayı
TRC-PV-120-08 Alçıpan Duvar Geçen Boru Yangın Durdurucu Mastik Detayı
F120 Dakika1" Çelik Boru Gurubu GeçişiMC950
TRC-PV-120-09 Alçıpan Duvar Geçen Boru Yangın Yalıtımı Mastik Detayı
TRC-PV-120-09 Alçıpan Duvar Geçen Boru Yangın Yalıtımı Mastik Detayı
F120 Dakika4" Çelik Boru GeçişiMC950
Yangın Durdurucu Mastik Uygulama Detayı TRCPV 126-01
Yangın Durdurucu Mastik Uygulama Detayı TRCPV 126-01
F120 DakikaAlçıpan Duvar Boş DelikMC 950
TRC-PV-60-02 Şaftlarda Boru Yangın Yalıtımı Detayı
TRC-PV-60-02 Şaftlarda Boru Yangın Yalıtımı Detayı
F60 Dakika4" Aluminyum Boru GeçişiMC950
TRC-PV-180-01 Şaftlarda Boru Yangın İzolasyonu Detayı
TRC-PV-180-01 Şaftlarda Boru Yangın İzolasyonu Detayı
F180 Dakika10" Çelik Boru GeçişiMC950
TRC/PV 180-03 Ahşap Duvar geçen İzoleli Boru Gurubu Yangın Durdurucu Detayı
TRC/PV 180-03 Ahşap Duvar geçen İzoleli Boru Gurubu Yangın Durdurucu Detayı
F180 Dakikaİzoleli Çoklu Boru GeçişiMC950
Duvardaki Boş Delikte Yangın Durdurucu Yastık Detayı W-J-0004
Duvardaki Boş Delikte Yangın Durdurucu Yastık Detayı W-J-0004
F120 DakikaBoş DelikMC Yastık
Yangın Durdurucu İntumesan Mastik Detayı W-J-0027
Yangın Durdurucu İntumesan Mastik Detayı W-J-0027
F120 DakikaDuvarda Boş DelikMC 1000
W-J-1007 Duvar Boru Geçişi Yangın Durdurucu Detayı
W-J-1007 Duvar Boru Geçişi Yangın Durdurucu Detayı
F120 Dakika1" Çelik / 4" EMT Konduit / 4" Bakır Boru MC1000
W-J-1013 Duvardan geçen boru Yangın Durdurucu Detayı
W-J-1013 Duvardan geçen boru Yangın Durdurucu Detayı
F120 Dakika17-1/4" Çelik / 4" Bakır Boru MC950
W-J-1018 Duvardan geçen boru Yangın Yalıtımı Detayı
W-J-1018 Duvardan geçen boru Yangın Yalıtımı Detayı
F120 Dakika17-1/4" Çelik / 4" EMT BoruMC835+
W-J-1019 Duvardan Geçen Yangın İzolasyonu Boru Geçişi Detayı
W-J-1019 Duvardan Geçen Yangın İzolasyonu Boru Geçişi Detayı
F120 Dakika1" EMT BoruMC950
W-J-1036 Yangın Koruma Boru Geçişi Mastik Detayı
W-J-1036 Yangın Koruma Boru Geçişi Mastik Detayı
F120 Dakika10" Çelik veya Döküm Boru 2" EMT Boru veya Bakır BoruMC1000
W-J-1038 Yangın Yalıtımı Boru Geçişi Mastik Detayı
W-J-1038 Yangın Yalıtımı Boru Geçişi Mastik Detayı
F120 Dakika10" Çelik veya Döküm Boru 4" EMT Boru veya 2" Bakır BoruMC1000
W-J-1043 Yangın İzolasyonu Boru Geçişi Mastik Detayı
W-J-1043 Yangın İzolasyonu Boru Geçişi Mastik Detayı
F120 Dakika20" Çelik veya Döküm Boru 4" EMT Boru veya 2" Bakır BoruMC1000
W-J-1045 Yangın Durdurucu Boru Geçişi Mastik Detayı
W-J-1045 Yangın Durdurucu Boru Geçişi Mastik Detayı
F120 Dakika20" Çelik veya Döküm Boru 4" EMT Boru veya 2" Bakır BoruMC1000
W-J-1056 Yangın Yalıtımı Boru Geçişi Mastik Detayı
W-J-1056 Yangın Yalıtımı Boru Geçişi Mastik Detayı
F120 Dakika17-1/2" Çelik veya 4" Bakır BoruMC150+
W-J-1059 Yangın İzolasyonu Boru Geçişi Mastik Detayı
W-J-1059 Yangın İzolasyonu Boru Geçişi Mastik Detayı
F240 Dakika10" Çelik veya Döküm Boru 4" Bakır veya EMT BoruMC1000
W-J-1061 Şaft Geçen Boru Yangın Durdurucu Detayı
W-J-1061 Şaft Geçen Boru Yangın Durdurucu Detayı
F240 Dakika8" Çelik veya Döküm Boru 4" Bakır veya EMT BoruMC1000
W-J-1065 Şaft Geçen Boru Yangın Yalıtımı Detayı
W-J-1065 Şaft Geçen Boru Yangın Yalıtımı Detayı
F120 Dakika24" Çelik veya Döküm Boru 6" Bakır veya 4" EMT BoruMC1000 /MC150+
W-J-1066 Şaft Geçen Boru Yangın İzolasyonu Detayı
W-J-1066 Şaft Geçen Boru Yangın İzolasyonu Detayı
F120 Dakika2" Çelik veya Döküm Boru veya EMT BoruMC1000
W-J-1087 Şaft Geçen Konduit Yangın Durdurucu Detayı
W-J-1087 Şaft Geçen Konduit Yangın Durdurucu Detayı
F120 Dakika1" Aluminyum BoruMC1000
W-J-1090 Şaft Geçen Borular Yangın Durdurucu Detayı
W-J-1090 Şaft Geçen Borular Yangın Durdurucu Detayı
F120 Dakika3" Çelik/ Döküm / EMT BoruMC150+
W-J-1109 Duvar Geçen Boru Yangın Durdurucu Detayı
W-J-1109 Duvar Geçen Boru Yangın Durdurucu Detayı
F120 Dakika12" Çelik/ Döküm / 6" EMT Boru / 4" Bakır BoruMC150+
W-J-1145 Boru için Yangın Durdurucu Detayı
W-J-1145 Boru için Yangın Durdurucu Detayı
F120 Dakika12" Çelik/ Döküm / 6" EMT / 4" Bakır BoruMC150+
W-J-1158 Duvar Geçen Konduit Yangın Durdurucu Detayı
W-J-1158 Duvar Geçen Konduit Yangın Durdurucu Detayı
F120 Dakika1 1/2" EMT BoruMC150+
W-J-1170 Boru Gurubu Yangın Durdurucu Detayı
W-J-1170 Boru Gurubu Yangın Durdurucu Detayı
F120 Dakika3" Çelik/ Döküm / 2" EMT veya Bakır BoruMC150+
W-J-1172 Konduit Yangın Yalıtımı Detayı
W-J-1172 Konduit Yangın Yalıtımı Detayı
F120 Dakika1 1/2" Çelik veya Alüminyum KonduitMC1000
W-J-1176 Duvar Boru Geçişi Yangın Durdurucu Detayı
W-J-1176 Duvar Boru Geçişi Yangın Durdurucu Detayı
F120 Dakika4" Çelik / 4" EMT Konduit / 4" Bakır Boru / 4" Döküm BoruMC1000
Yangın Durdurucu Yastık Detayı WJ-4017
Yangın Durdurucu Yastık Detayı WJ-4017
F120 DakikaDuvarda Kablo Tavası GeçişiMC Sargı / MC Yastık
Kablo Tavası Geçişinde Yangın Durdurucu Yastık Uygulama Detayı W-J-4025
Kablo Tavası Geçişinde Yangın Durdurucu Yastık Uygulama Detayı W-J-4025
F120 DakikaKablo Tavası GeçişiMC Yastık / MC 1000 / MC 900
Duvardan geçen kablo tavası yangın durdurucu uygulama detayı WJ-4031
Duvardan geçen kablo tavası yangın durdurucu uygulama detayı WJ-4031
F180 DakikaKablo Tavası GeçişiMC 1200
Duvardan Geçen Kablo Kanalı Yangın Durdurucu Macun Detayı WJ-4051
Duvardan Geçen Kablo Kanalı Yangın Durdurucu Macun Detayı WJ-4051
F120 DakikaKablo Kanalı GeçişiMC Macun
W-J-5016 Duvar geçen İzoleli Boru Yangın Durdurucu Detayı
W-J-5016 Duvar geçen İzoleli Boru Yangın Durdurucu Detayı
F120 Dakikaİzoleli Boru GeçişiMC1000
W-J-5018 Duvar geçen Yalıtımlı Boru Yangın Durdurucu Detayı
W-J-5018 Duvar geçen Yalıtımlı Boru Yangın Durdurucu Detayı
F120 DakikaYalıtımlı Boru GeçişiMC1000
Yalıtımlı Boru Yangın İzolasyonu Duvar Geçiş Detayı W-J-5020
Yalıtımlı Boru Yangın İzolasyonu Duvar Geçiş Detayı W-J-5020
F120 Dakikaİzolasyonlu Boru GeçişiMC1000
W-J-5022 Duvar geçen İzolasyonlu Boru Yangın Yalıtımı Detayı
W-J-5022 Duvar geçen İzolasyonlu Boru Yangın Yalıtımı Detayı
F120 Dakikaİzolasyonlu Boru GeçişiMC Sargı
W-J-5025 Duvar geçen İzoleli Boru Yangın Durdurucu Detayı
W-J-5025 Duvar geçen İzoleli Boru Yangın Durdurucu Detayı
F120 Dakikaİzoleli Boru GeçişiMC Sargı
W-J-5029 Duvar geçen İzoleli Boru Yangın Durdurucu Detayı
W-J-5029 Duvar geçen İzoleli Boru Yangın Durdurucu Detayı
F120 Dakikaİzolasyonlu Boru GeçişiMC1000
W-J-5033 Duvar geçen İzolasyonlu Boru Yangın İzolasyonu Detayı
W-J-5033 Duvar geçen İzolasyonlu Boru Yangın İzolasyonu Detayı
F240 Dakikaİzolasyonlu Boru GeçişiMC1000
W-J-5036 Duvar geçen Yalıtımlı Boru Yangın İzolasyonu Detayı
W-J-5036 Duvar geçen Yalıtımlı Boru Yangın İzolasyonu Detayı
F120 DakikaYalıtımlı Boru GeçişiMC1000 / MC150 / FS900
W-J-5039 Duvar geçen İzoleli Boru Yangın İzolasyonu Detayı
W-J-5039 Duvar geçen İzoleli Boru Yangın İzolasyonu Detayı
F120 Dakikaİzoleli Boru GeçişiMC1000
W-J-5043 Duvar geçen İzoleli Boru Yangın Yalıtımı Detayı
W-J-5043 Duvar geçen İzoleli Boru Yangın Yalıtımı Detayı
F120 DakikaYalıtımlı Boru GeçişiMC1000 / MC Sargı / FS900
W-J-5059 Duvar geçen Yalıtımlı Boru Yangın Yalıtımı Detayı
W-J-5059 Duvar geçen Yalıtımlı Boru Yangın Yalıtımı Detayı
F120 DakikaYalıtımlı Boru GeçişiMC1000
W-J-5064 Duvar geçen İzoleli Boru Yangın Durdurucu Detayı
W-J-5064 Duvar geçen İzoleli Boru Yangın Durdurucu Detayı
F120 Dakikaİzoleli Boru GeçişiMC1000
W-J-5068 Duvar geçen İzoleli Boru Yangın Yalıtımı Detayı
W-J-5068 Duvar geçen İzoleli Boru Yangın Yalıtımı Detayı
F120 Dakikaİzoleli Boru GeçişiMC1000
W-J-5079 Duvar geçen İzoleli Boru Yangın İzolasyonu Detayı
W-J-5079 Duvar geçen İzoleli Boru Yangın İzolasyonu Detayı
F120 Dakikaİzoleli Boru GeçişiMC1000 / MC150+
W-J-5080 Duvar geçen İzolasyonlu Boru Yangın İzolasyonu Detayı
W-J-5080 Duvar geçen İzolasyonlu Boru Yangın İzolasyonu Detayı
F120 Dakikaİzolasyonlu Boru GeçişiMC150+
W-J-5081 Duvar geçen İzolasyonlu Boru Yangın Yalıtımı Detayı
W-J-5081 Duvar geçen İzolasyonlu Boru Yangın Yalıtımı Detayı
F120 DakikaYalıtımlı Boru GeçişiMC150+ / MC1000
W-J-5093 Duvar geçen İzolasyonlu Boru Yangın Durdurucu Detayı
W-J-5093 Duvar geçen İzolasyonlu Boru Yangın Durdurucu Detayı
F120 Dakikaİzolasyonlu Boru GeçişiMC150+ / MC1000
W-J-5101 Duvar geçen Yalıtımlı Boru Yangın Durdurucu Detayı
W-J-5101 Duvar geçen Yalıtımlı Boru Yangın Durdurucu Detayı
F120 DakikaYalıtımlı Boru GeçişiMC1000
W-J-5103 Şaftlarda İzoleli Boru Yangın Durdurucu Detayı
W-J-5103 Şaftlarda İzoleli Boru Yangın Durdurucu Detayı
F120 Dakikaİzoleli Boru GeçişiMC1000
W-J-5114 Yangın Kompartmanı İzoleli Boru Yangın Durdurucu Detayı
W-J-5114 Yangın Kompartmanı İzoleli Boru Yangın Durdurucu Detayı
F120 Dakikaİzoleli Boru GeçişiMC150
W-J-5116 Yangın Kompartmanı İzoleli Boru Yangın Yalıtımı Detayı
W-J-5116 Yangın Kompartmanı İzoleli Boru Yangın Yalıtımı Detayı
F120 Dakikaİzoleli Boru GeçişiMC150
W-J-5118 Yangın Kompartmanı İzoleli Boru Yangın İzolasyonu Detayı
W-J-5118 Yangın Kompartmanı İzoleli Boru Yangın İzolasyonu Detayı
F120 Dakikaİzoleli Boru GeçişiMC150
W-J-5123 Yangın Zonu İzoleli Boru Yangın İzolasyonu Detayı
W-J-5123 Yangın Zonu İzoleli Boru Yangın İzolasyonu Detayı
F120 Dakikaİzoleli Boru GeçişiMC1000 / MC Sargı
W-J-5125 Yangın Zonu İzoleli Boru Yangın Yalıtımı Detayı
W-J-5125 Yangın Zonu İzoleli Boru Yangın Yalıtımı Detayı
F120 Dakikaİzoleli Boru GeçişiMC1000 / MC Sargı
W-J-5157 Yangın Zonu Çoklu İzoleli Boru Yangın Durdurucu Detayı
W-J-5157 Yangın Zonu Çoklu İzoleli Boru Yangın Durdurucu Detayı
F120 Dakikaİzoleli Boru GeçişiMC1000 / MC 150+ / MC Derz Bandı
W-J-5158 Yangın Kompartımanı İzoleli Boru Yangın Durdurucu Detayı
W-J-5158 Yangın Kompartımanı İzoleli Boru Yangın Durdurucu Detayı
F120 Dakikaİzoleli Boru GeçişiMC Boru Klavuzu
W-J-5159 Yangın Kompartımanı İzoleli Boru Yangın Yalıtımı Detayı
W-J-5159 Yangın Kompartımanı İzoleli Boru Yangın Yalıtımı Detayı
F120 Dakikaİzoleli Boru GeçişiMC Sargı Bandaj
W-J-5160 Yangın Kompartımanı İzoleli Boru Yangın İzolasyonu Detayı
W-J-5160 Yangın Kompartımanı İzoleli Boru Yangın İzolasyonu Detayı
F120 Dakikaİzoleli Boru GeçişiMC Sargı Bandaj
W-J-5161 İzoleli Boru Yangın Durdurucu Yastık Detayı
W-J-5161 İzoleli Boru Yangın Durdurucu Yastık Detayı
F120 Dakikaİzoleli Boru GeçişiMC Yastık / MC1000 / MC150+
Duvar Geçen Bus Bar Pasif Yangın Koruma Detayı W-J-6005
Duvar Geçen Bus Bar Pasif Yangın Koruma Detayı W-J-6005
F120 DakikaDuvar Geçen Bus Bar Pasif Yangın Koruma DetayıMC1000
W-J-7002 Duvar Geçen Havalandırma Kanalı Yangın Durdurucu Detayı
W-J-7002 Duvar Geçen Havalandırma Kanalı Yangın Durdurucu Detayı
F120 Dakikaİzolasyonsuz Hava Kanalı Geçişi 305x305 MC1000
Şaftlardan Geçen Hava Kanalı Yangın Durdurucu Detayı W-J-7008
Şaftlardan Geçen Hava Kanalı Yangın Durdurucu Detayı W-J-7008
F120 DakikaŞaftlardan Geçen Hava Kanalı MC1000 / MC350i
Şaftlardan Geçen Hava Kanalı Yangın Yalıtımı W-J-7016
Şaftlardan Geçen Hava Kanalı Yangın Yalıtımı W-J-7016
F120 DakikaŞaftlardan Geçen Hava Kanalı Yangın YalıtımıMC1000
Hava Kanalı Geçişinde Yangın Durdurucu Uygulama Detayı W-J-7026
Hava Kanalı Geçişinde Yangın Durdurucu Uygulama Detayı W-J-7026
F120 Dakikaİzolasyonsuz Hava Kanalı Geçişi MC 1200
İzolasyonlu Hava Kanalı Yangın Durdurucu Detayı W-J-7046
İzolasyonlu Hava Kanalı Yangın Durdurucu Detayı W-J-7046
F120 Dakikaİzolasyonlu Hava Kanalı Geçişi MC 150 / MC 900
Alçıpan Duvar Yangın Durdurucu Yastık Detayı W-L-0004
Alçıpan Duvar Yangın Durdurucu Yastık Detayı W-L-0004
F120 DakikaAlçıpan F120 Boş DelikMC Yastık
Yangın Durdurucu Yastık İle boş rezervasyon test raporu W-L-0006
Yangın Durdurucu Yastık İle boş rezervasyon test raporu W-L-0006
F60 DakikaAlçıpan Duvar Boş RezervasyonMC Yastık
Yangın Durdurucu Silikon Detayı W-L-0008
Yangın Durdurucu Silikon Detayı W-L-0008
F120 DakikaAlçıpan Duvar / Boş RezervasyonMC Harç / MC 835+ silikon
Yangın Durdurucu Macun ile yangın yalıtımı detayı W-L-0026
Yangın Durdurucu Macun ile yangın yalıtımı detayı W-L-0026
F120 DakikaAlçıpan Duvar Boş ŞaftMC Macun
Alçıpan Duvarda Yangın Durdurucu Mastik Detayı W-L-0056
Alçıpan Duvarda Yangın Durdurucu Mastik Detayı W-L-0056
F120 DakikaAlçıpan Duvarda Boş RezervasyonMC 1000
Alçıpan Duvar Geçen Metal Boru Yangın Durdurucu Detayı W-L-1007
Alçıpan Duvar Geçen Metal Boru Yangın Yalıtımı Detayı W-L-1007
F120 DakikaÇelik Boru ve EMT konduit geçişiMC150+
Alçıpan Duvardan Geçen Boru Yangın Yalıtımı Detayı W-L-1013
Alçıpan Duvardan Geçen Boru Yangın Durdurucu Detayı W-L-1013
F120 DakikaEMT veya Bakır Boru GeçişiMC835+ / MC950
Şaft Geçişi Alçıpan Duvar Boru geçişi Yangın Durdurucu Detayı
Şaft Geçişi Alçıpan Duvar Boru geçişi Yangın Yalıtımı Detayı
F120 DakikaÇelik / Bakır Boru GeçişiMC950
Şaftlardan Geçen Boru için Yangın Durdurucu Detayı W-L-1025
Şaftlardan Geçen Boru için Yangın Yalıtımı Detayı W-L-1025
F120 DakikaÇelik Borular Kombine GeçişiMC950
Şaft Geçen Bakır veya Çelik Boru için Yangın Durdurucu Detayı W-L-1026
Şaft Geçen Bakır veya Çelik Boru için Yangın Yalıtımı Detayı W-L-1026
F120 DakikaÇelik Boru / Bakır Boru GeçişiMC950
Şaft Geçen Boru için Yangın Yalıtım Detayı W-L-1035
Şaft Geçen Boru için Yangın Durdurucu Detayı W-L-1035
F120 DakikaÇelik Boru / EMT Boru GeçişiMC950
Şaft Duvarından Geçen Boru için Yangın Durdurucu Detayı W-L-1047
Şaft Duvarından Geçen Boru için Yangın Yalıtımı Detayı W-L-1047
F120 DakikaÇelik Boru / Konduit GeçişiMC150+
Yangına Dayanıklı Alçıpan duvar boru geçişi
Yangına Dayanıklı Alçıpan duvar boru geçişi
F120 DakikaÇelik Boru / EMT BoruMC150+
W-L-1074 Alçıpan Duvar Yangın İzolasyonu
W-L-1074 Alçıpan Duvar Yangın Yalıtımı
F60 DakikaDemir Döküm / Çelik / EMT / Bakır Boru GeçişiMC950+
Şaft Geçen Boru Yangın Durdurucu Detayı W-L-1075
Şaft Geçen Boru Yangın Yalıtımı Detayı W-L-1075
F120 DakikaÇelik / Döküm / Bakır Boru / EMT KonduitMC950
Şaft Geçen Boru Yangın Yalıtımı Detayı W-L-1099
Şaft Geçen Boru Yangın Dudurucu Detayı W-L-1099
F120 DakikaÇelik / Döküm / Bakır veya EMT boruMC1000
Şaft Geçen Boru Yangın İzolasyonu W-L-1102
Şaft Geçen Boru Yangın Yalıtımı W-L-1102
F120 DakikaÇelik / Bakır / Döküm ve EMT boru GeçişiMC1000
Alçıpan Geçen Boru Yangın Durdurucu Detayı W-L-1104
Alçıpan Geçen Boru Yangın Yalıtımı Detayı W-L-1104
F60 DakikaÇelik / Döküm / Bakır ve EMT Boru Geçişi MC1000
F120 DakikaÇelik / Bakır / Döküm ve EMT Boru GeçişiMC1000
Alçıpan Geçen Boru Yangın İzolasyonu Detayı W-L-1108
Alçıpan Geçen Boru Yangın Yalıtımı Detayı W-L-1108
F60 DakikaÇelik / Döküm / Bakır ve EMT Boru geçişi MC1000
Kuru Duvar Yangın Durdurucu Boru Geçişi W-L-1114
Kuru Duvar Yangın Yalıtımı Boru Geçişi W-L-1114
F120 DakikaÇelik / Döküm / EMT / Bakır Boru GeçişiMC1000
Kuru Duvar Yangın Yalıtımı Detayı W-L-1116
Kuru Duvar Yangın Durdurucu Detayı W-L-1116
F60 DakikaÇelik / Döküm / Bakır / EMT Boru GeçişiMC1000
Kuru Duvar Yangın İzolasyonu W-L-1118
Kuru Duvar Yangın Durdurucu W-L-1118
F120 DakikaÇelik/ Döküm / Bakır / EMT Boru geçişiMC1000
Kuru Duvar Yangın Bariyeri Detayı W-L-1120
Kuru Duvar Yangın Durdurucu Detayı W-L-1120
F60 DakikaÇelik / Döküm / Bakır / EMT Boru GeçişiMC1000
Şaft Duvarı Yangın Durdurucu W-L-1122
Şaft Duvarı Yangın Bariyeri W-L-1122
F120 DakikaBakır / Çelik / EMT BoruMC835+
Boru Gurubu Yangın Durdurucu W-L-1128
Boru Gurubu Yangın Yalıtımı W-L-1128
F120 DakikaBoru Gurubu Geçişi Harç
Boru Gurubu Yangın Yalıtımı Detayı W-L-1129
Boru Gurubu Yangın Durdurucu Detayı W-L-1129
F60 DakikaÇelik / Döküm / Bakır / EMT Borular geçişiHarç
Şaft Geçen Boru Yangın Bariyeri Detayı W-L-1132
Şaft Geçen Boru Yangın Durdurucu Detayı W-L-1132
F120 DakikaÇelik Boru Geçişi MC Harç / MC835+
Alçıpan Pasif Yangın Koruma W-L-1138
Alçıpan Pasif Yangın Durdurucu W-L-1138
F120 DakikaBakır / EMT Boru GeçişiMC150+
Alçıpan Pasif Yangın Durdurucu W-L-1140
Alçıpan Pasif Yangın Yalıtımı W-L-1140
F120 DakikaÇelik veya Bakır Boru GeçişiMC150+
Alçıpan Duvar Yangın İzolasyonu W-L-1142
Alçıpan Duvar Yangın Durdurucu W-L-1142
F120 DakikaÇelik veya Bakır Boru GeçişiMC150+
Alçıpan Pasif Yangın Durdurucu W-L-1152
Alçıpan Pasif Yangın Yalıtımı W-L-1152
F120 DakikaÇelik / Döküm /Bakır / EMT boru için GeçişMC1000 / MC150+ / MC350+
Yangın Durdurucu Detayı Alçıpan Boru Geçişi W-L-1153
Yangın Yalıtımı Detayı Alçıpan Boru Geçişi W-L-1153
F120 DakikaÇelik / Döküm veya EMT Boru GeçişiMC1000 veya MC350i
Pasif Yangın Durdurucu Alçıpan Detayı W-L-1159
Pasif Yangın Bariyeri Alçıpan Detayı W-L-1159
F240 DakikaÇelik / Döküm / Bakır / EMT boru geçişiMC1000
Alçıpan Pasif Yangın Yalıtımı Boru Geçişi W-L-1161
Alçıpan Pasif Yangın Yalıtımı Boru Geçişi W-L-1161
F240 DakikaÇelik / Döküm / Bakır / EMT Boru GeçişiMC1000
Yangın Yalıtımı Alçıpan Boru Geçişi Detayı W-L-1177
Yangın Yalıtımı Alçıpan Boru Geçişi Detayı W-L-1177
F120 DakikaÇelik Veya Alüminyum Spiral KonduitMC1000
Alçıpan Boru Geçişi Yangın Durdurucu W-L-1204
Alçıpan Boru Geçişi Yangın Durdurucu W-L-1204
F120 DakikaAlüminyum Flex KonduitMC1000 / MC350i
Alçıpan Geçen Borular Yangın Bariyeri W-L-1207
Alçıpan Geçen Borular Yangın Bariyeri W-L-1207
F120 DakikaÇelik / Döküm / EMT Boru Gurubu GeçişiMC150+
Alçıpan Geçen Boru Yangın Bariyeri W-L-1253
Alçıpan Geçen Boru Yangın Bariyeri W-L-1253
F120 DakikaÇelik / Döküm / Bakır / EMT Boru geçişi MC150+
Şaftlardan Geçen Boru Yangın Durdurucu W-L-1325
Şaftlardan Geçen Boru Yangın Durdurucu W-L-1325
F120 DakikaÇelik / Döküm / Bakır / EMT Boru GeçişiMC150+ / MC1000
Şaftlardan Geçen Boru Yangın Yalıtımı W-L-1343
Şaftlardan Geçen Boru Yangın Yalıtımı W-L-1343
F120 DakikaFleksibıl Çelik Elektrik KonduitiMC150+
Şaftlardan Geçen Borular Yangın Durdurucu W-L-1362
Şaftlardan Geçen Borular Yangın Durdurucu W-L-1362
F120 DakikaÇelik / Döküm / Bakır / EMT boru Geçişi MC150+
Şaftlardan Geçen Borular Yangın Yalıtımı W-L-1372
Şaftlardan Geçen Borular Yangın Yalıtımı W-L-1372
F120 DakikaMC1000
Şaftlardan Geçen Borular Yangın İzolasyonu W-L-1393
Şaftlardan Geçen Borular Yangın İzolasyonu W-L-1393
F120 DakikaÇelik / Döküm / Bakır / EMT Boru Geçişi MC350i
Şaftlardan Geçen Boru Yangın İzolasyonu W-L-1394
Şaftlardan Geçen Boru Yangın İzolasyonu W-L-1394
F60 DakikaÇelik / Döküm / Bakır / EMT Boru Geçişi MC350i
Şaftlardan Geçen Boru Yangın Bariyeri W-L-1395
Şaftlardan Geçen Boru Yangın Bariyeri W-L-1395
F120 DakikaÇelik veya Alüminyum Sprial KonduitMC350i
Pasif Yangın Durdurucu Şaftlardan Geçen Boru W-L-1404
Pasif Yangın Durdurucu Şaftlardan Geçen Boru W-L-1404
F120 DakikaÇelik / Döküm / Bakır / EMT Boru Geçişi MC150+
Şaft Geçişi Pasif Yangın Koruma Detayı W-L-1442
Şaft Geçişi Pasif Yangın Koruma Detayı W-L-1442
F120 DakikaDuş Valfi / Duş BorusuMC Sargı / MC835+
Otel & Hastane Yangın Durdurucu Detayı W-L-1443
F120 DakikaDuş Valfi ve Dış TesisatıMC835+ / MC Sargı
Otel & Hastane Yangın Yalıtımı W-L-1444
Otel & Hastane Yangın Yalıtımı W-L-1444
F120 DakikaDuş Valfi / Duş Borusu GeçişiMC SARGI / MC835+
Şaft Geçen Boru Gurubu Yangın Durdurucu Detayı W-L-1454
Şaft Geçen Boru Gurubu Yangın Durdurucu Detayı W-L-1454
F120 DakikaÇelik / Konduit BoruMC150+
Alçıpan Duvar Şaft Tesisat Geçişi Yangın Durdurucu Çelik Boru W-L-1545
Alçıpan Duvar Şaft Tesisat Geçişi Yangın Durdurucu Çelik Boru W-L-1545
F120 DakikaÇelik / EMT ve Bakır BoruMC1000 / MC150+ / MC Macun
Alçıpan Duvardan Geçen Boru Yangın Durdurucu W-L-1604
Alçıpan Duvardan Geçen Boru Yangın Durdurucu W-L-1604
F60 DakikaÇelik Medikal Boru 2 inç. MC1000
Alçıpan Duvardan Geçen PVC boru Yangın Durdurucu Detayı W-L-2007
Alçıpan Duvardan Geçen PVC boru Yangın Durdurucu Detayı W-L-2007
F60 DakikaPVC veya PEX boru geçişiMC SARGI
Alçıpan Şaft Geçen PVC Boru Yangın Durdurucu Sargı Detayı W-L-2008
Alçıpan Şaft Geçen PVC Boru Yangın Durdurucu Sargı Detayı W-L-2008
F60 DakikaPolietilen veya PVC Boru Geçişi MC SARGI
Alçıpan Geçen PVC Boru Yangın Durdurucu Detayı W-L-2009
Alçıpan Geçen PVC Boru Yangın Durdurucu Detayı W-L-2009
F120 DakikaPVC Boru 50 mm geçişiMC SARGI
Şaft Duvarı Geçen PVC Boru için Yangın Durdurucu Detayı W-L-2014
Şaft Duvarı Geçen PVC Boru için Yangın Durdurucu Detayı W-L-2014
F120 DakikaPVC Boru 100 mmMC950
Şaft Duvarı Geçen ABS Boru için Yangın Yalıtımı W-L-2016
Şaft Duvarı Geçen ABS Boru için Yangın Yalıtımı W-L-2016
F120 DakikaABS Boru Geçişi MC SARGI
Yangın Durdurucu Kelepçe - Alçıpan Geçiş Detayı W-L-2021
Yangın Durdurucu Kelepçe - Alçıpan Geçiş Detayı W-L-2021
F120 DakikaPVC, cPVC, uPVC, ABS Yanıcı Boru Geçişi MC Kelepçe, MC1000, MC350i
Alçıpan Duvar Geçen PVC Boru Yangın Durdurucu Sargı Detayı W-L-2102
Alçıpan Duvar Geçen PVC Boru Yangın Durdurucu Sargı Detayı W-L-2102
F120 DakikaPVC / cPVC Boru Yangın Durdurucu SargıMC SARGI
Yangın Durdurucu Mastik Detayı - Alçıpan Geçişi W-L-2104
Yangın Durdurucu Mastik Detayı - Alçıpan Geçişi W-L-2104
F120 DakikaPVC / cPVC / PEX boru geçişi MC1000
Yangın Duvarı PVC Boru Geçişi W-L-2108
Yangın Duvarı PVC Boru Geçişi W-L-2108
F120 DakikaPVC / cPVC / ABS boru geçişi MC Kelepçe
Yangın Bölmesi Yanıcı Boru Geçişi W-L-2117
Yangın Bölmesi Yanıcı Boru Geçişi W-L-2117
F120 DakikaPVC / cPVC / ABS Yanıcı Boru Geçişi MC Kelepçe
Yangın Bölmesi Yanıcı Boru Yalıtımı W-L-2119
Yangın Bölmesi Yanıcı Boru Yalıtımı W-L-2119
F60 DakikaPVC, cPVC, ABS Yanıcı Boru Geçişi MC Kelepçe
Yangın Bölmesi Yanıcı Boru Yangın Durdurucu W-L-2121
Yangın Bölmesi Yanıcı Boru Yangın Durdurucu W-L-2121
F120 DakikaPVC / cPVC / ABSMC Kelepçe
Yangın Bölmesi Yanıcı Boru Yangın İzolasyonu W-L-2132
Yangın Bölmesi Yanıcı Boru Yangın İzolasyonu W-L-2132
F120 DakikaPVC / cPVC / ABS boru geçişi MC Kelepçe
Yangın Bölmesi Yanıcı Boru Yangın Yalıtımı W-L-2134
Yangın Bölmesi Yanıcı Boru Yangın Yalıtımı W-L-2134
F60 DakikacPVC veya PVC boru geçişi 3/4"MC835+
Yangın Bölmesi Yanıcı Boru Pasif Yangın Durdurucu Detayı W-L-2135
Yangın Bölmesi Yanıcı Boru Pasif Yangın Durdurucu Detayı W-L-2135
F60 DakikaPVC / cPVC / ABS boru geçişi 150 mmMC1000 / MC Kelepçe
Şaft Geçen Yanıcı Boru Pasif Yangın Durdurucu Detayı W-L-2167
Şaft Geçen Yanıcı Boru Pasif Yangın Durdurucu Detayı W-L-2167
F120 DakikaPVC / cPVC / ABS / Konduit Boru 100 mmMC150+ MC Sargı
Alçıpan Duvardan Geçen Yanıcı Boru Pasif Yangın Durdurucu Sargı Detay W-L-2168
Alçıpan Duvardan Geçen Yanıcı Boru Pasif Yangın Durdurucu Sargı Detay W-L-2168
F120 DakikaPVC / cPVC / Sert PVC KonduitMC SARGI, MC1000, MC350i
Yangın Duvarı Geçen PVC Boru Yangın Durdurucu Detayı W-L-2170
Yangın Duvarı Geçen PVC Boru Yangın Durdurucu Detayı W-L-2170
F120 DakikaPVC / cPVC / ABS / ENT / PEX Boru geçişi MC1000 / MC350i
Yangın Duvarı Elektrik Konduiti Geçişi W-L-2190
Yangın Duvarı Elektrik Konduiti Geçişi W-L-2190
F120 DakikaKoruge Yanıcı Elektrik KonduitiMC1000
Yangına Dayanıklı Alçıpan Duvar Elektrik Konduiti Geçişi W-L-2192
Yangına Dayanıklı Alçıpan Duvar Elektrik Konduiti Geçişi W-L-2192
F120 DakikaKoruge Yanıcı Elektrik Konduiti 1 inç. MC1000
Yangına Dayanıklı Alçıpan Duvar PVC Boru Yangın Durdurucu Kelepçe Detayı W-L-2199
Yangına Dayanıklı Alçıpan Duvar PVC Boru Yangın Durdurucu Kelepçe Detayı W-L-2199
F120 DakikaPVC / cPVC boru 200 mmMC SARGI / MC1000
Yangına Dayanıklı Alçıpan PVC Boru Yangın Durdurucu W-L-2201
Yangına Dayanıklı Alçıpan PVC Boru Yangın Durdurucu W-L-2201
F120 DakikaABS / PVC / cPVC Boru Membran Geçişi MC1000
Yangına Dayanıklı Alçıpan PVC Boru Yangın Yalıtımı W-L-2202
Yangına Dayanıklı Alçıpan PVC Boru Yangın Yalıtımı W-L-2202
F120 DakikaPVC, CPVC, ABS Yanıcı Boru MC350i, MC150+
Yangına Dayanıklı Alçıpan PVC Boru Yangın İzolasyonu W-L-2207
Yangına Dayanıklı Alçıpan PVC Boru Yangın İzolasyonu W-L-2207
F60 DakikaPVC ve cPVC Boru 75 mm MC Sargı / MC Kelepçe
Alçıpan PVC Boru Geçişi Yangın Durdurucu W-L-2209
Alçıpan PVC Boru Geçişi Yangın Durdurucu W-L-2209
F60 DakikaPVC / cPVC / PEX Boru 50 mmMC1000
Alçıpan PVC Boru Geçişi Yangın Yalıtımı W-L-2238
Alçıpan PVC Boru Geçişi Yangın Yalıtımı W-L-2238
F120 DakikaPVC / cPVC / ABS Boru 1 1/2 MC1000
Alçıpan PVC Boru Geçişi Yangın İzolasyon W-L-2240
Alçıpan PVC Boru Geçişi Yangın İzolasyon W-L-2240
F60 DakikaPVC / cPVC 75 mm MC Sargı
Alçıpan Yangın Kompartımanı geçen PVC Boru Detayı W-L-2255
Alçıpan Yangın Kompartımanı geçen PVC Boru Detayı W-L-2255
F120 DakikaFRPP 4 inç boruMC KELEPÇE
Alçıpan Yangın Duvarı geçen PVC Boru Detayı W-L-2258
Alçıpan Yangın Duvarı geçen PVC Boru Detayı W-L-2258
F120 DakikaCam Boru 6"MC1000 / MC350i / MC150+
Alçıpan Yangın Bölmesi Geçen PVC Boru Detayı W-L-2259
Alçıpan Yangın Bölmesi Geçen PVC Boru Detayı W-L-2259
F120 DakikaPVC / cPVC / ABS / Konduit Boru 50 mmMC150+
Alçıpan Yangın Zonu Geçen Yanıcı Boru Detayı W-L-2262
Alçıpan Yangın Zonu Geçen Yanıcı Boru Detayı W-L-2262
F120 DakikaPVC, cPVC, ENT, PEXMC150+
Alçıpan Yangın Kompartımanı Geçen Yanıcı Boru Detayı W-L-2267
Alçıpan Yangın Kompartımanı Geçen Yanıcı Boru Detayı W-L-2267
F60 DakikaABS BoruMC1000
Alçıpan Yangın Bölmesi Geçen Yanıcı Boru Detayı W-L-2274
Alçıpan Yangın Bölmesi Geçen Yanıcı Boru Detayı W-L-2274
F120 DakikaPVC, cPVC Boru 100 mmMC Sargı
Yanıcı Boru Yangın Bariyeri Alçıpan Detayı W-L-2276
Yanıcı Boru Yangın Bariyeri Alçıpan Detayı W-L-2276
F120 DakikaPVC, cPVC, ABS Boru GeçişiMC SARGI
Alçıpan Geçen Yanıcı Boru Pasif Yangın Durdurucu W-L-2316
Alçıpan Geçen Yanıcı Boru Pasif Yangın Durdurucu W-L-2316
F120 DakikaPVC / cPVC Boru 100 mm MC SARGI
Alçıpan Geçen PVC Boru Pasif Yangın Durdurucu W-L-2342
Alçıpan Geçen PVC Boru Pasif Yangın Durdurucu W-L-2342
F120 DakikaPVC / cPVC / PEX / ENT Boru 50 mmMC1000
Alçıpan Geçen PVC Boru Yangın Bariyeri W-L-2346
Alçıpan Geçen PVC Boru Yangın Bariyeri W-L-2346
F60 DakikaPVC / cPVC Boru Geçişi 75 mm MC SARGI / MC150+ / MC1000 / MC350i
Alçıpan Geçen PVC Boru Yangın Yalıtımı W-L-2348
Alçıpan Geçen PVC Boru Yangın Yalıtımı W-L-2348
F120 DakikaPVC / CPVC / ABS Boru 100 mmMC1000 / MC SARGI
Alçıpan Geçen PVC Boru Yangın İzolasyonu W-L-2373
Alçıpan Geçen PVC Boru Yangın İzolasyonu W-L-2373
F120 DakikaPVC / CPVC / KONDUİT / PEX BORU 38 MMMC150
Yanıcı Boru Yangın İzolasyonu Alçıpan Geçişi W-L-2400
Yanıcı Boru Yangın İzolasyonu Alçıpan Geçişi W-L-2400
F120 DakikaPVC / cPVC / ABS / Elk. Konduiti 75 mmMC SARGI
Yanıcı Boru Pasif Yangın Durdurucu Alçıpan Geçişi W-L-2402
Yanıcı Boru Pasif Yangın Durdurucu Alçıpan Geçişi W-L-2402
F120 DakikaPVC / Polietilen / PVC KonduitMC1000 / MC350i
Alçıpan Duvardan Geçen Kablo tavası için yangın durdurucu yastık detayıdır.
Alçıpan Duvardan Geçen Kablo tavası için yangın durdurucu yastık detayıdır.
F120 DakikaKablo Tavası Geçişi MC-Yastık / MC-Sargı
W-L-4023 Alçıpan Duvar Yangın Durdurucu Yastık Detayı Kablo Tavası
W-L-4023 Alçıpan Duvar Yangın Durdurucu Yastık Detayı Kablo Tavası
F60 DakikaKablo Kanalı GeçişiMC Yastık / MC Sargı
Alçıpan Duvardan Geçen Kablo Tavası Yangın Durdurucu Yastık Detayı WL-4030
Alçıpan Duvardan Geçen Kablo Tavası Yangın Durdurucu Yastık Detayı WL-4030
F120 DakikaKablo Tavası Geçişi MC 1000 / MC Yangın Durdurucu Yastık
Alçıpan Duvardan Geçen Kablo Kanalında Yangın Durdurucu Yastık Uygulama Detayı W-L-4031
Alçıpan Duvardan Geçen Kablo Kanalında Yangın Durdurucu Yastık Uygulama Detayı W-L-4031
F120 DakikaAlçıpandan Geçen Kablo KanalıMC 1000 / MC Yangın Durdurucu Yastık
Alçıpan Bölme Duvardan Geçen Kablo Tavası Yangın Durdurucu Detayı WL-4041
Alçıpan Bölme Duvardan Geçen Kablo Tavası Yangın Durdurucu Detayı WL-4041
F120 DakikaKablo Tavası Geçişi MC 1200
Alçıpan Duvar Geçen Kablo Tavası Yangın Durdurucu Macun Detayı WL-4054
Alçıpan Duvar Geçen Kablo Tavası Yangın Durdurucu Macun Detayı WL-4054
F120 DakikaKablo Kanalı GeçişiMC Macun / Bixi Stick
Alçıpan Duvar Geçen Kablo Kanalı Yangın Durdurucu Silikon Detayı WL-4058
Alçıpan Duvar Geçen Kablo Kanalı Yangın Durdurucu Silikon Detayı WL-4058
F120 DakikaKablo Kanalı GeçişiMC 835+
Alçıpan Bölmeden Geçen Kablo Tavası için Yangın Durdurucu Yastık Detayı WL-4072
Alçıpan Bölmeden Geçen Kablo Tavası için Yangın Durdurucu Yastık Detayı WL-4072
F120 DakikaKablo Tavası Geçişi MC 1000 / MC Yastık
W-L-5056 Alçıpan Duvar Yangın Durdurucu Mastik Detayı
W-L-5056 Alçıpan Duvar Yangın Durdurucu Mastik Detayı
F120 Dakikaİzoleli Boru GeçişiMC950
W-L-5057 İzoleli Boru Alçıpan Duvar Yangın Yalıtımı Detayı
W-L-5057 İzoleli Boru Alçıpan Duvar Yangın Yalıtımı Detayı
F120 Dakikaİzoleli Boru GeçişiMC1000
W-L-5059 İzoleli Boru Alçıpan Duvar Yangın İzolasyonu Detayı
W-L-5059 İzoleli Boru Alçıpan Duvar Yangın İzolasyonu Detayı
F120 Dakikaİzoleli Boru GeçişiMC1000
W-L-5061 Alçıpan Duvar geçen İzoleli Boru Yangın Durdurucu Detayı
W-L-5061 Alçıpan Duvar geçen İzoleli Boru Yangın Durdurucu Detayı
F120 Dakikaİzoleli Boru GeçişiMC1000
W-L-5063 İzoleli Boru Alçıpan Duvar Yangın Durdurucu Detayı
W-L-5063 İzoleli Boru Alçıpan Duvar Yangın Durdurucu Detayı
F120 Dakikaİzoleli Boru GeçişiMC Sargı Bandaj
W-L-5068 Alçıpan Duvar İzolasyonlu Boru Yangın Durdurucu Detayı
W-L-5068 Alçıpan Duvar İzolasyonlu Boru Yangın Durdurucu Detayı
F120 Dakikaİzoleli Boru GeçişiMC Sargı Bandaj
W-L-5075 Alçıpan Duvar İzoleli Boru Yangın Durdurucu Detayı
W-L-5075 Alçıpan Duvar İzoleli Boru Yangın Durdurucu Detayı
F120 Dakikaİzoleli Boru GeçişiMC1000
W-L-5077 Alçıpan Duvar Yalıtımlı Boru Yangın Durdurucu Detayı
W-L-5077 Alçıpan Duvar Yalıtımlı Boru Yangın Durdurucu Detayı
F120 Dakikaİzoleli Boru GeçişiMC835+
W-L-5084 Alçıpan Duvar İzoleli Boru Yangın Durdurucu Detayı
W-L-5084 Alçıpan Duvar İzoleli Boru Yangın Durdurucu Detayı
F240 Dakikaİzoleli Boru GeçişiMC1000
W-L-5087 Alçıpan Duvar İzolasyonlu Boru Yangın Yalıtımı Detayı
W-L-5087 Alçıpan Duvar İzolasyonlu Boru Yangın Yalıtımı Detayı
F120 Dakikaİzoleli Boru GeçişiMC1000 / MC150+
W-L-5092 Alçıpan Duvar İzoleli Boru Yangın Durdurucu Detayı
W-L-5092 Alçıpan Duvar İzoleli Boru Yangın Durdurucu Detayı
F120 Dakikaİzoleli Boru GeçişiMC1000
W-L-5097 Alçıpan Duvar İzoleli Boru Yangın Durdurucu Detayı
W-L-5097 Alçıpan Duvar İzoleli Boru Yangın Durdurucu Detayı
F120 Dakikaİzoleli Boru GeçişiMC1000 / MC Sargı
W-L-5127 Alçıpan Duvar Yangın Durdurucu İzoleli Boru Detayı
W-L-5127 Alçıpan Duvar Yangın Durdurucu İzoleli Boru Detayı
F120 Dakikaİzoleli Boru GeçişiMC1000
W-L-5145 Alçıpan Duvar Yangın Yalıtımı İzoleli Boru Detayı
W-L-5145 Alçıpan Duvar Yangın Yalıtımı İzoleli Boru Detayı
F120 Dakikaİzoleli Boru GeçişiMC1000
W-L-5148 Alçıpan Duvar Yangın İzolasyonu İzoleli Boru Detayı
120 dakika yangın dayanıklılığı sağlayan alçıpan duvar yalıtım sistemi
F120 Dakikaİzoleli Boru GeçişiMC1000
W-L-5171 Alçıpan Duvar Yangın Pasif İzolasyonu İzoleli Boru Detayı
W-L-5171 Alçıpan Duvar Yangın Pasif İzolasyonu İzoleli Boru Detayı
F120 Dakikaİzoleli Boru GeçişiMC1000 / MC150+ / FS900+
Alçıpan Duvardan Geçen İzoleli Boru Pasif Yangın Durdurucu Detayıdır. W-L-5172
W-L-5172 Alçıpan Duvar Yangın Pasif Durdurucu İzoleli Boru Detayı
F120 Dakikaİzoleli Boru GeçişiMC150+
Alıpan Duvar Geçen İzoleli Boru için Pasif Yangın Yalıtımı Detayıdır W-L-5173
W-L-5173 Alçıpan Duvar Pasif Yangın Yalıtımı İzoleli Boru Detayı
F120 Dakikaİzoleli Boru GeçişiMC150+ / MC1000 / FS900
Alçıpan Yangın İzolasyonu
W-L-5193 Alçıpan Yangın İzolasyonu İzoleli Boru Detayı
F120 Dakikaİzoleli Boru GeçişiMC1000
Alçıpan Duvar için Yangın Durdurucu Detayı İzoleli Boru Geçişi
W-L-5205 Alçıpan Yangın Durdurucu İzoleli Boru Detayı
F120 Dakikaİzoleli Boru GeçişiMC1000
Alıpandan duvardan geçen izoleli boru için yangın yalıtım detayı
W-L-5207 Alçıpan Yangın Yalıtımı İzoleli Boru Detayı
F120 Dakikaİzoleli Boru GeçişiMC1000
Alçıpan Duvardan geçen izoleli boru yangın durdurucu detayı
W-L-5226 İzoleli Boru Yangın Durdurucu Detayı
F120 Dakikaİzoleli Boru GeçişiMC150+
Alçıpan Duvardan geçen izoleli boru için yangın yalıtım detayı W-L-5228
W-L-5228 İzoleli Boru Yangın Yalıtımı Detayı
F120 Dakikaİzoleli Boru GeçişiMC150+
Alçıpan Geçen İzoleli Boru Yangın İzolasyon Detayı
W-L-5230 İzoleli Boru Yangın İzolasyonu Detayı
F120 Dakikaİzoleli Boru GeçişiMC150+
Alçıpan Duvar İzoleli Boru Geçişi Pasif Yangın Koruma Detayı
W-L-5237 Alçıpan / İzoleli Boru Pasif Yangın Koruma Detayı
F120 Dakikaİzoleli Boru GeçişiMC1000 / MC Sargı
Alçıpan Duvardan Geçen İzoleli Boru için Pasif Yangın Durdurucu Detayı
W-L-5304 Alçıpan / İzoleli Boru Pasif Yangın Durdurucu Detayı
F120 Dakikaİzoleli Boru GeçişiMC1000 / MC150+ / MC Derz Contası
Alçıpan duvar geçen izoleli boru pasif yangın yalıtımı detayı
W-L-5305 Alçıpan / İzoleli Boru Pasif Yangın Yalıtımı Detayı
F120 Dakikaİzoleli Boru GeçişiMC1000 / MC150+ / MC Yastık
Alçıpan Duvar Geçen İzoleli Boru Pasif Yangın İzolasyonu Detayı
W-L-5306 Alçıpan / İzoleli Boru Pasif Yangın İzolasyonu Detayı
F120 Dakikaİzoleli Boru GeçişiMC Klavuz
Alçıpan Şaft Duvarı geçen İzoleli Boru Pasif Yangın DetayıDurdurucu
W-L-5307 Alçıpan Şaft Duvarı / İzoleli Boru Pasif Yangın Durdurucu Detayı
F120 Dakikaİzoleli Boru GeçişiMC Klavuz
Alçıpan Duvar geçen Yalıtımlı Boru Yangın Durdurucu Detayı
W-L-5308 Alçıpan Duvar / Yalıtımlı Boru Yangın Durdurucu Detayı
F120 Dakikaİzoleli Boru GeçişiMC Sargı
Alçıpan Duvar delip geçen izoleli boru için Pasif Yangın Koruma Detayı W-L 5309
Pasif Yangın Koruma - İzoleli Boru Detayı W-L-5309
F120 Dakikaİzoleli Boru GeçişiMC1000 / MC Sargı
Alçıpan Duvar delip geçen izoleli boru için Pasif Yangın Koruma Detayı W-L 5309
Pasif Yangın Koruma - İzoleli Boru Detayı W-L-5309
F120 Dakikaİzoleli Boru GeçişiMC Sargı / MC1000
W-L-5310 Yangına Dayanıklı Yastık, Yalıtımlı Boru Detayı
W-L-5310 Yangına Dayanıklı Yastık, Yalıtımlı Boru Detayı
F120 Dakikaİzoleli Boru GeçişiMC Yastık / MC1000 / MC150+
Alçıpan Duvar Geçen Busbar Yangın Durdurucu Detayı W-L-6008
Alçıpan Duvar Geçen Busbar Yangın Durdurucu Detayı W-L-6008
F120 DakikaAlçıpan Duvar Geçen Busbar DetayıMC1000
Busbar Geçişi Alçıpan Duvar W-L-6010
Busbar Geçişi Alçıpan Duvar W-L-6010
F120 DakikaBusbar Geçişi Alçıpan DuvarMC1000
Şaft Geçen Busbar Yangın Durdurucu Detayı W-L-6015
Şaft Geçen Busbar Yangın Durdurucu Detayı W-L-6015
F120 DakikaŞaft Geçen Busbar DetayıMC835+
Alçıpan Duvar Yangın Durdurucu Sistemi W-L-8062
Alçıpan Duvardan Geçen Karma Tesisat için Yangın Durdurucu Detayı W-L-8062
F120 DakikaKarma Tesisat GeçişiMC Sargı, MC Plaka, MC1000
Sandviç Panel Duvar, delip geçen izoleli boru için yangın durdurucu detayı W-N-5001
W-N-5001 Taşyünü Dolgulu Sandviç Panel Yangın Durdurucu Geçiş Detayı
F120 Dakikaİzoleli Boru GeçişiMC Sargı / MC1000
W-N-5002 İzoleli Boru, Sandviç Panel Yangın Durdurucu Detayı
W-N-5002 İzoleli Boru, Sandviç Panel Yangın Durdurucu Detayı
F120 Dakikaİzoleli Boru Geçişi PVC / CPVC 150 mmMC Sargı / MC1000 / MC150+
W-N-5004 İzoleli Boru, Sandviç Panel Yangın Yalıtımı Detayı
W-N-5004 İzoleli Boru, Sandviç Panel Yangın Yalıtımı Detayı
F120 Dakikaİzoleli Boru GeçişiMC Sargı / MC1000 / MC150+
W-N-5005 İzoleli Boru, Sandviç Panel Yangın İzolasyonu Detayı
W-N-5005 İzoleli Boru, Sandviç Panel Yangın İzolasyonu Detayı
F120 Dakikaİzoleli Boru GeçişiMC Sargı / MC1000 / MC150+
Alçıpan Duvar Pasif Koruma W-L-1144
Alçıpan Duvar Pasif Yangın Durdurucu W-L-1144
F120 DakikaÇelik / EMT / Bakır / Döküm Boru Geçişi MC150+